三维化方法对土的平面应变强度和变形的影响分析

    Influences of 3D model generalization approach on calculation of stress and strain of soils under plane strain

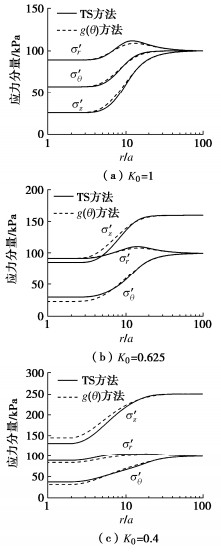
    • 摘要: 临界状态本构模型需要通过三维化来反映材料在三维应力状态下的力学特性。采用不同三维化方法在描述应力罗德角和偏应力对应力应变的影响程度上具有差异性,在平面应变条件下,这种差异性对土的应力应变计算结果影响往往非常显著。以K0固结土的统一硬化(UH)本构模型和空间滑动面(SMP)强度准则为例,分别采用变换应力(TS)方法和g(θ)方法这两种常用方法对模型三维化,推导了相应的三维弹塑性刚度矩阵Dep,阐述了不同方法在三维应力应变计算过程上的本质区别。相比g(θ)方法,TS方法可以合理描述不同K0状态下土的应力水平对偏平面上屈服曲线形状的影响规律,即由低应力比下的近圆形转变为剪切破坏时的SMP破坏准则形状,实现了土体从剪切屈服到剪切破坏的一致性。通过对一系列平面应变单元试验和边值问题的分析计算结果表明,采用TS方法三维化的UH模型预测结果与已有试验规律更为吻合。在不同K0固结条件下,由于计算得到的破坏面呈现不规则形状,采用g(θ)方法往往过高或过低地估计平面应变条件下土体的应力水平。

       

      Abstract: To describe the shear yield and failure behavior of soils in the generalized 3D stress space, the critical state constitutive model needs to be combined with some strength criteria. The use of various 3D model generalization approaches is frequently highly important in characterizing the impacts of stress Lode angle and deviatoric stress on stress and strain, especially under plane strain. The unified hardening (UH) constitutive model for K0 consolidated soils and the spatially mobilized plane (SMP) strength criterion are used as examples, and the transform stress (TS) and g(θ) methods are adopted for the 3D model generalization. The 3D elastoplastic stiffness matrix Dep associated with each model generalization approach is deduced, and the key difference between various approaches for calculating 3D stress and strain is discussed. The TS method, in comparison to the g(θ) method, is able to transform the yield curve on the π plane from a nearly circular shape under a low stress ratio to the shape of the SMP strength criterion at failure, which demonstrates the consistency from yield to failure. Predictions of a series of plane strain element tests and boundary value problems are performed with the 3D UH model generalized by the TS and g(θ) methods. The results show that the predicted results from the TS method are more consistent with the existing experimental measurements. Due to the irregular shape of the failure surface when using the g(θ) method, the estimated stress level is often either too high or too low under plane strain for K0-consolidated soils.

       

    /

    返回文章
    返回