卸荷条件下岩石平行偏置双裂隙的扩展规律研究

    Propagation of offset parallel cracks in rock under unloading conditions

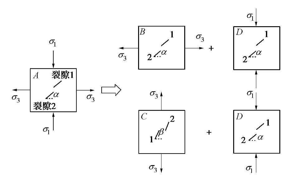
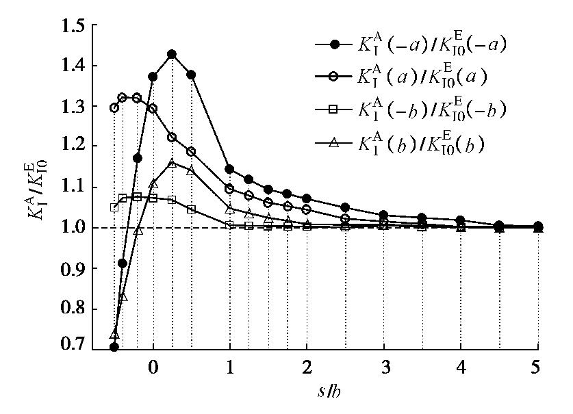
    • 摘要: 岩质边坡中存在着大量的非贯通断续节理,对于开挖扰动下的边坡岩体强度及破坏模式起着重要的控制作用。为了研究边坡岩体在开挖扰动下内部节理裂隙的细观扩展规律,基于叠加原理与Kachanov法,推导了卸荷条件下平行偏置双裂隙的尖端应力强度因子表达式并从理论上分析了多种因素对裂隙间相互作用的影响规律,最后对含平行偏置裂隙的类岩试件进行了卸荷试验,结果表明:①主次裂隙间的裂隙错距或岩桥长度愈小、主裂隙长度愈大,裂隙尖端处的相互作用变化愈剧烈;②随着裂隙倾角的增大,裂隙尖端张拉破坏的趋势愈发明显,而剪切破坏趋势减弱;③裂隙间的岩桥长度越大,应力强度因子放大系数受裂隙倾角的影响越敏感。通过对比理论上不同试件在侧向卸荷条件下的裂隙轴向起裂应力与试验测得的实际起裂应力发现,两者相对误差均在4.7%以内,证明了利用提出的理论方法计算裂隙的临界起裂应力是合理可行的。通过本研究揭示的卸荷条件下平行偏置双裂隙的扩展规律,可对露天矿节理岩质边坡在开挖过程中的细观破坏机制提供一定的理论依据。

       

      Abstract: The numerous non-penetrating intermittent joints in rock slopes play an important role in controlling the strength and failure mode of rock mass under excavation disturbance. In order to determine the meso-influence laws of intermittent joint interaction in the slope under the action of excavation, using the superposition principle and the Kachanov method, the stress intensity factor of parallel offset double cracks at the tip in rock mass under unloading conditions is calculated, the influences of many factors on the interaction between cracks are theoretically analyzed, and the unloading tests on rock-like specimens with parallel offset cracks are conducted. The results show that: (1) The interaction at the crack tips becomes more severe and sensitive if the length of the main crack larger or the staggered distance between the cracks or the length of rock bridge is shorter. (2) As the inclination angle of cracks increases, the tensile failure gradually increases but shear failure weakens. (3) The sensitivity of the amplification factors of the stress intensity factor affected by the angle is positively correlated with the length of rock bridge. In addition, the axial-initiation stresses of cracks in different specimens theoretically calculated under unloading conditions are compared with the measured ones by tests, and it is found that the relative error between them are all less than 4.7%, revealing that the proposed theoretical formula is a reasonable and feasible method to calculate the axial-initiation stresses of cracks. The propagation laws of the offset parallel cracks in rock under unloading conditions are revealed and are conducive to the studies on meso-failure mechanism of jointed rock slopes in open-pit mines under the action of excavation.

       

    /

    返回文章
    返回