泥水盾构抗海水劣化泥浆流变性能及成膜机制分析

    Rheological properties and film-forming mechanism of anti-seawater deterioration slurry for slurry shield

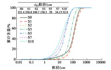
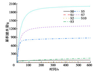
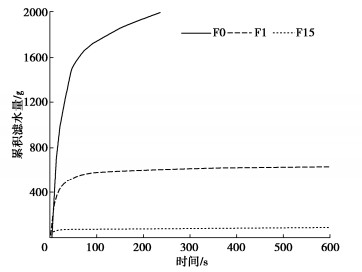
    • 摘要: 近海或越海泥水盾构隧道建设中,泥浆接触海水后性质劣化难以形成泥膜,极易引起开挖面失稳。提出一种使用亚麻籽胶作为外加剂的抗海水劣化泥浆,基于自主研发的变截面渗透柱研究了亚麻籽胶含量和海水侵入度对累积滤水量及超静孔隙水压力(超静孔压)的影响;获取了泥浆累积粒径分布曲线及流变性质,分析了抗海水劣化泥浆的渗透成膜机制。结果表明,亚麻籽胶能够提高降滤失效果、加快超静孔压消散,促进泥膜形成。随海水侵入度增大,滤水量先减小后增加,泥浆d85先变大后减小,流变性质则逐渐变差。侵入度≤30%时泥浆能够抵抗海水劣化,颗粒堵塞作用是致密泥膜形成的关键;侵入度较高(50%,70%)时泥膜渗透性变差,颗粒堵塞及流变阻塞耦合作用可能是抑制泥浆持续向地层渗透的原因;侵入度为100%时泥浆性质严重劣化,无法形成泥膜。研究成果可为海水环境下泥水盾构施工抗海水劣化泥浆的研发提供可行思路。

       

      Abstract: During the construction of offshore and seabed slurry shield tunnels, the properties of slurry contacting with seawater are seriously deteriorated, leading to the failure of filter cake formation and the instability of excavation face. In this study, an anti-seawater deterioration slurry using flaxseed gum as an admixture is proposed. Based on the self-developed variable cross-section infiltration column, the effects of the flaxseed gum content and seawater intrusion degree on the cumulative water filtration and excess pore water pressure are studied, respectively. The cumulative particle size distribution and rheological properties of slurry under different seawater concentrations are obtained. The mechanism of infiltration and filter cake formation of anti-seawater deterioration slurry is analyzed. The results show that the flaxseed gum can improve the effects of fluid loss reduction, accelerate the dissipation of the excess pore pressure, and promote the formation of mud film. With the increase of the seawater intrusion, the fluid loss decreases first and then increases, the d85 of slurry increases first and then decreases, and the rheological properties are gradually deteriorated. When the intrusion degree is less than 30%, the slurry can resist the seawater deterioration, and the particle clogging is the key to the formation of dense filter cake. After the intrusion degree reacheds 50%, the filter cake permeability becomes worse. The coupling effects of the particle clogging and rheological blocking may be the reason for inhibiting the continuous penetration of the slurry into the formation. When the intrusion degree is 100%, the slurry properties are deteriorated seriously, and the filter cake cannot be formed. The research can provide feasible ideas for the research and development on seawater-resistant slurry during the construction of slurry shields under seawater environment.

       

    /

    返回文章
    返回