深埋软岩隧道上中台阶开挖锁脚锚管倾角优化研究

    Optimization of inclination angle of locking anchor pipe during excavation of upper and middle steps of deeply buried soft rock tunnels

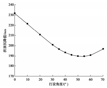
    • 摘要: 软岩隧道初期支护中,钢架+锁脚锚管联合支护是一种有效控制隧道围岩变形且经济的支护措施。其中,锁脚锚管的打设角度是影响其支护效果的重要参数。在已有的上台阶开挖后钢架+锁脚锚管力学解析模型基础上,推导了上中台阶开挖后钢架+锁脚锚管力学解析模型,以此求出上中台阶开挖后锁脚锚管打设角度和钢架拱顶沉降的理论计算式。同时,基于竖向围岩压力实测分析,通过所求出的上中台阶开挖后锁脚锚管打设角度与钢架拱顶沉降的关系式,并以中河隧道为工程依托确定上中台阶开挖后锁脚锚管的最优打设角度。结果表明:建立的上中台阶开挖后钢架+锁脚锚管力学模型分析得到的隧道拱顶沉降与现场实测值基本吻合;根据钢架拱顶沉降理论公式分析得出隧道中台阶锁脚锚管最优打设角度为60°~70°。本文的研究成果可为深埋隧道分台阶开挖锁脚锚管的倾角优化设计提供理论依据。

       

      Abstract: In the initial support of soft rock tunnels, the combined support of steel frame and locking foot anchor pipe is an effective and economical support measure to control the deformation of surrounding rock of the tunnels. Among them, the setting angle of the locking foot anchor pipe is an important parameter affecting its support effects. Based on the existing mechanical analytical model for steel frame + locking foot anchor pipe after excavation of the upper bench, the mechanical analytical model for steel frame + locking foot anchor pipe after excavation of upper and middle benches is derived by using the method of structural mechanics, so as to obtain the theoretical formula for the setting angle of the locking foot anchor pipe and the settlement of the steel frame vault after excavation of the upper and middle benches. At the same time, based on the measurement analysis of the vertical pressure of the surrounding rock, the relationship between the angle of the locking anchor pipe after the excavation of the upper and middle steps and the settlement of the steel frame vault is obtained, and the Zhonghe Tunnel is used as the engineering basis to determine the optimal angle of the locking anchor pipe after the excavation of the upper and middle steps. The results show that the settlement of the tunnel vault obtained by the established mechanical model for steel frame + lock foot anchor pipe after excavation of upper and middle steps is basically consistent with the measured value. According to the theoretical formula settlement of steel arch, the optimal setting angle of locking foot anchor pipe of step in the tunnel is 60 ° ~ 70 °. The research results can provide a theoretical basis for the optimization design of the dip angle of the locking foot anchor pipe in the step excavation of deeply buried tunnels.

       

    /

    返回文章
    返回