气体压差影响下的煤渗透率非平衡演化全过程模型

    Model for non-equilibrium evolution coal permeability of whole process under influences of gas pressure difference

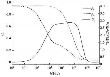
    • 摘要: 煤层气开采过程中基质与裂隙之间由于渗透性能的差异会长期存在气体压差,使煤岩处于非平衡态,非平衡态下的基质-裂隙相互作用是不断变化的。目前大多数研究对基质吸附变形与裂隙开度变化之间的关系没有充分的解释。为此,定义了一个新的与气体压差相关的非平衡因子,以描述基质吸附变形在不同时刻对裂隙开度变化与煤体变形的影响程度,建立了煤岩渗透率非平衡演化理论模型,该模型包括了从初始平衡到最终平衡状态的全过程。进一步地,采用试验数据对模型进行了验证,用数值模拟分析了气体抽注过程的气体压力时空分布规律与煤渗透率演化规律。结果表明:①基质孔隙压力变化滞后于裂隙压力变化,气体压差会长期存在,其大小先从0迅速增大后缓慢降低恢复至0;②渗透率演化可分为5个阶段,首尾两阶段表示平衡状态,中间3个阶段表示非平衡状态,非平衡演化过程中渗透率发生非单调变化;③基质块与基质桥的宽度之比会影响渗透率的变化幅度,用于煤储层的不同边界条件会影响渗透率的变化幅度和最终数值。研究结果对合理开采煤层气具有一定指导意义。

       

      Abstract: During the process of coalbed methane (CBM) extraction, gas pressure difference will exist for a long time due to different permeabilities between fracture and matrix, which makes coal in non-equilibrium state. The interaction between matrix and fracture in non-equilibrium state is constantly changing. At present, most studies do not fully explain the relationship between matrix adsorption deformation and change of fracture aperture. Therefore, a new non-equilibrium factor related to gas pressure difference is defined to describe the influence of matrix adsorption deformation on change of fracture aperture and coal deformation at different time. A theoretical model for non-equilibrium evolution of coal permeability is established, which includes the whole process from the initial equilibrium to the final one. Furthermore, the model is verified through the experimental data, and the spatial and temporal distribution of gas pressure and the evolution of coal permeability during gas injection and extraction are analyzed by the numerical simulation. The results show that: (1) The change of matrix pore pressure lags behind that of fracture pressure. The gas pressure difference exists for a long time, and its size increases rapidly from 0 and then slowly decreases to 0. (2) The permeability evolution can be divided into five stages. The first and the last stages represent the equilibrium state, the middle three stages represent the non-equilibrium state, and the permeability changes non-monotonically during the non-equilibrium evolution process. (3) The ratio of matrix width to matrix bridge width will affect the variation amplitude of permeability, and the different boundary conditions used in coal reservoir will affect the variation amplitude and the final value of permeability. The results are of certain guiding significance for CBM extraction reasonably.

       

    /

    返回文章
    返回