声呐渗流测试技术之质疑

    Question of sonar seepage detection technology

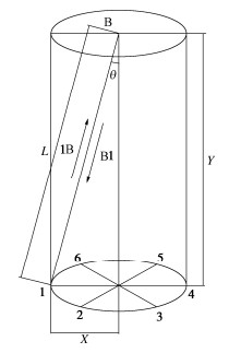
    • 摘要: 介绍了近年来新出现的用声呐法测试渗流速度和渗流方向这一技术的核心内容,包括测试装置、测试原理和计算方法等。从理论和实践上对其提出了4方面的质疑:测试原理的理论基础、渗流速度计算方法、渗流方向确定和流场畸变。通过理论分析、公式的推导和数据的可靠性分析后认为:声呐测试渗流的原理缺乏理论解释;计算渗流速度的公式反映的只是孔内垂向流速度,实际还是由测量误差产生的伪垂向流速度,且该公式本身就推导不成立;无论垂向流是向上流动或向下流动,探头上部的水声器发射的声波到达下部平面对称分布的6个水声器的时间在理论上是相等的,因而也无法通过合成法求得渗流方向,所提供的渗流方向实际是由指数级时间误差计算得到的伪流向;即声呐法无法获得渗流速度,包括水平向渗流速度和垂直向流动速度,也无法获得水平向渗流方向。

       

      Abstract: The core content of the new technology of detecting seepage velocity and seepage direction by sonar is introduced, including detection devices, detection principle and calculation method. It is questioned in theory and practice from four aspects: detection principle, seepage velocity calculation method, seepage direction determination and flow field distortion. After analyzing the correctness of the formula and the reliability of the data, it is considered that the principle of the sonar seepage detection lacks theoretical explanation. The formula for calculating the seepage velocity itself is not valid, and the vertical flow velocity in the hole can be obtained by using this formula, which is actually the pseudo vertical flow velocity caused by the measurement error. Regardless of whether the vertical flow is upward or downward, the time it takes for the sound waves emitted by the upper part of the probe to reach the six symmetrically distributed underwater acoustic devices in the lower plane is theoretically equal, and therefore the seepage direction cannot be obtained through the synthesis method. The provided seepage direction is actually a pseudo flow direction calculated by the exponential measurement error. The sonar method cannot obtain the seepage velocity, including horizontal and vertical flow velocities, nor can it obtain the horizontal seepage direction.

       

    /

    返回文章
    返回