分配特殊群桩空间作用效应的双向m

    A bidirectional m-method for allocating spatial effects of special pile groups

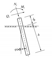
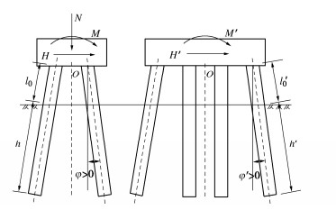
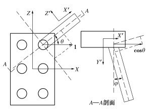
    • 摘要: 群桩到单桩的作用分配是桩基计算的关键问题,针对规范中的单向m法只适用于平面作用的局限性,从单桩刚度、群桩刚度、受力平衡方程3个层面进行公式推导,建立了变形协调的群桩刚度矩阵和空间受力平衡方程,形成了适用于空间作用的双向m法,并以对称等长直桩、双向斜桩、不对称桩为计算实例,对比分析了单向m法和双向m法的计算结果。结果表明:单向m法计算对称等长直桩时,结果准确,计算双向斜桩时,单桩的弯矩和剪力波动较大,最大值偏小20%左右,计算不对称桩时,单桩外力之和与总外力不闭合,可信度低;而双向m法的理论解可覆盖这些桩基类型,结果更接近有限元数值解。研究成果为特殊桩基提供了一种快速且简便的计算方法,扩展了公路和铁路桥梁桩基设计规范的适用范围。

       

      Abstract: The load distribution from a pile group to a single pile is the key issue in calculation of pile foundations. Aiming at the limitation that the one-way m-method in the Chinese specifications and codes is only applicable to plane action, the formulas are derived from three levels: stiffness of a single pile, stiffness of pile groups and equation for force balance, and the stiffness matrix for a deformation-coordinated pile group and the equation for spatial force balance are established, forming a bidirectional m-method suitable for spatial loads. Based on the examples of symmetric straight piles with equal length, bidirectional inclined piles and asymmetric piles, the calculated results by the one-way m-method and the bidirectional m-method are compared and analyzed. The results show that when using the one-way m-method to calculate the symmetric straight piles with equal length, the results are accurate. When calculating the bidirectional inclined piles, the bending moment and shear force of a single pile fluctuate greatly, with the maximum value being about 20% smaller. When calculating the asymmetric piles, the sum of external forces of a single pile is not closed to the total external force, and the reliability is low. The theoretical solutions for the bidirectional m-method can cover these pile foundation types, and the results are closer to the finite element numerical solutions. The research results provide a fast and simple method for special pile foundations, expanding the scope of application of the Chinese design specifications and codes for pile foundations of highway and railway bridges.

       

    /

    返回文章
    返回