高温作用下非饱和黄土水热迁移试验研究

    Experimental study on water and heat migration of unsaturated loess under high temperatures

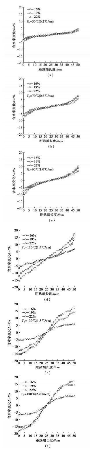
    • 摘要: 黄土的水敏性特点使其强度随含水率降低而大幅增加,高温疏干方法进行黄土加固具有广阔应用前景,研究高温作用下非饱和土水热迁移规律具有重要意义。通过自制高温水热迁移装置,进行不同高温水平下不同初始含水率黄土的水热迁移试验。试验结果表明:高温对水分具有显著驱动作用;当热端温度超过100℃时,试验初期贴近热源土体的水分被快速驱离,是气液相变导致的气态水迁移显著增加所致;含水率分布由峰值曲线逐渐演变为含水率单向增大的缓变曲线;热源温度越高,水分迁移通量越大。建立了高温水热迁移模型,并通过计算验证了模型的可靠性。以体积含水量表示计算所得水分场数据分析了高温和水分含量对水分迁移的综合影响机制,根据黄土高温水分迁移特征在不同体积含水量阶段的差异化表现,将高温水分迁移特征划分为3个区间。Ⅰ低体积含水量区间:水分迁移通量随体积含水量变化曲线呈现峰值曲线,水分主要迁移形式为气态水;Ⅱ中体积含水量区间:随体积含水量增大,气态水迁移通量减小的同时液态水迁移通量增大;Ⅲ高体积含水量区间:温度作用对水分迁移进程不产生影响。

       

      Abstract: The strength of loess increases greatly with the decrease of water content. The high-temperature drainage method has broad application prospects for loess reinforcement, so it is significant to study the water and heat transfer of unsaturated soils under high temperatures. A water and heat transfer device allowing the action of high temperatures is developed to test the water and temperature fields of loess with specific initial water content under the action of a high-temperature heat source. The test results show that the high temperature has a significant driving effect on water compared with the normal temperature heat source. When the hot-end temperature exceeds 100℃, the water of soils close to the hot source is rapidly driven away at the beginning of the tests, which is caused by the significant increase of gaseous water migration due to the gas-liquid phase change. The distribution curves of water content gradually evolve from a peak type to a unidirectional increase one of the water content. Water migration fluxes significantly increase with heating source temperature. A high-temperature water and heat transfer model is established, and its accuracy is verified through the trial calculation. The comprehensive influence mechanism of high temperature and water content on water migration is analyzed based on the calculated results. The high-temperature water migration characteristics are divided into three intervals: Ⅰ(low water content interval), the water migration flux curve with water content shows a peak curve, and water migrates mainly in gaseous form. Ⅱ (medium water content interval), as the water content increases, the migration flux of gaseous water decreases while the migration flux of liquid water increases. Ⅲ (high water content interval), the temperature has a rare effect on the water migration. The findings may provide preliminary revelation on the water and heat migration characteristics of high-temperature unsaturated soils.

       

    /

    返回文章
    返回