转弯凸型边坡静动力稳定性分析及空间效应研究

    3D effects on static and dynamic stability of convex curved slopes

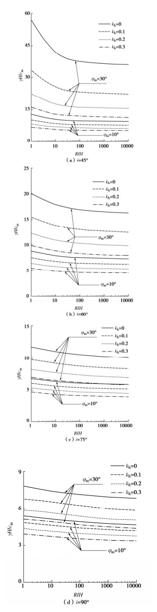
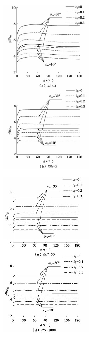
    • 摘要: 山区受地形影响建有大量转弯路基边坡,其失稳呈显著的空间特性,传统的边坡稳定分析方法大都基于二维平面应变条件,难以真实反映滑坡三维空间特征。基于变分理论的极限平衡法开展了转弯凸型边坡三维稳定性分析,结合拟静力法分析地震作用下边坡动力稳定性,并确定转弯边坡的最危险滑裂面位置。通过与其他方法计算结果对比,表明这一理论获得了转弯边坡更为临界的稳定性。通过考虑不同边坡转弯外凸参数(如转弯角、转弯半径、坡度)和水平地震加速度系数,揭示了三维效应对转弯凸型边坡稳定性的影响规律。结果表明:较小的转弯角就可以充分发挥三维效应,增大了边坡静动力稳定性;减小转弯半径会显著增强三维效应,并增加最危险滑裂面深度,但对较大的坡度和水平地震加速度情况并不明显,此时可以忽略三维效应采用传统的平面应变分析方法。

       

      Abstract: There are numerous curved slopes adjacent to mountainous terrain. Their failures have significant three-dimensional (3D) characteristics. The raditional analyses of slope stability are based on two-dimensional plane-strain conditions and cannot involve the 3D effects. In this study, 3D stability analysis of curved slopes is carried out based on the limit equilibrium method of variational theory. The pseudo-static method is used to assess the 3D stability of the curved slopes subjected to the earthquakes. The critical slip surfaces are also determined by the optimization procedure. The results are compared with those calculated by other methods, indicating that the proposed method can obtain more critical solutions on the 3D stability of curved slopes. The geometrical parameters of the slopes (e.g., curving angle, curving radius, slope angle) and the horizontal seismic acceleration coefficients are considered to investigate the influences of the 3D effects on the slope stability. The results demonstrate that the 3D effects can be completely provided for a slope with a small curving angle to increase the safety of the slope, and reducing the curving radius can significantly enhance the 3D effects and enlarge the depth of the critical slip surface, whereas it is not pronounced for the slopes with large angles and horizontal seismic acceleration. In this situation, the traditional plane strain analysis can be adopted neglecting the 3D effects.

       

    /

    返回文章
    返回