大直径桩纵向振动广义轴对称连续圈层模型及其应用

    Generalized axisymmetric continuous circle model for longitudinal vibration of large-diameter piles and its application

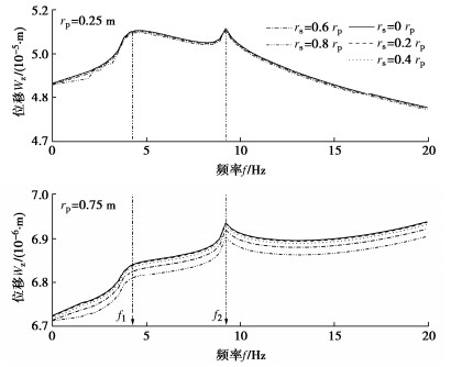
    • 摘要: 现有针对大直径桩纵向振动特性的理论研究主要存在两点不足:①所用桩体模型无法充分考虑桩身内的三维波动效应;②研究重点集中于高频范围,缺乏对工程价值更为突出的低频振动特性的聚焦分析。针对此两点不足,提出了新型的大直径桩纵向振动广义轴对称连续圈层模型,将桩体看作三维连续介质,同时考虑桩身质点的竖向和径向位移,将桩周土沿径向进行圈层化处理,利用相邻圈层土和桩土接触面耦合关系得到竖向动荷载作用下桩顶复刚度解析解。在验证所提模型合理性基础上,利用其对大直径桩低频振动特性进行探讨分析,重点关注施工扰动效应的影响规律和机理,发现若干创新现象和有益结论,为大直径桩动力设计和承载特性分析提供了更为完备的理论基础。

       

      Abstract: There exist two main deficiencies in the existing theoretical researches about the longitudinal vibration characteristics of large-diameter piles: (1) The pile models applied fail to consider sufficiently the three-dimensional (3D) wave effects of the pile body. (2) The dynamic characteristics within the low frequency range lack essential attention, which is much more important in practice. Regarding the two deficiencies, an innovative theoretical model called the generalized axisymmetric continuous circle model for investigating the longitudinal vibration of large-diameter piles is proposed. The pile is treated as the 3D continuous medium and the surrounding soil is stratified into several zones along the radial direction. The analytical solutions for the complex stiffness of the pile top are obtained by applying the coupled conditions between the adjacent soil zones and those at the pile-soil interface. After its rationality is verified, the proposed model is used to study the vibration characteristics of the large-diameter piles within the low frequency range. The laws and mechanisms of the construction disturbance effects are specifically discussed, and several new phenomena and useful conclusions are obtained, which may support a much more complete theoretical basis for the dynamic design and bearing capacity analysis of large-diameter piles.

       

    /

    返回文章
    返回