对基桩动力载荷试验的重新审视

    Re-examination of dynamic load tests on piles

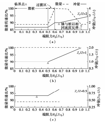
    • 摘要: 桩的动力载荷试验(DLT)和快速载荷试验(RLT)都追求桩的承载力在试验时能充分激发,也都通过桩顶的冲击和响应信号测量、分析,判定桩的承载力。但两种试验对落锤或等效配重的重量要求相差3~5倍,依据的力学原理各异。基于传统的桩-土计算模式与落锤结合建立的锤-桩-土系统相互作用模型,通过波动力学分析、动量定理验证和实测案例对比表明:锤的动量和能量传递除与桩周岩土阻力大小有关外,还明显受锤与桩的阻抗比或质量比、桩的侧阻和端阻分布形式影响。研究了不同桩侧或桩端阻力、不同阻抗比对能量传递和冲量变化的影响规律,分析了与桩的承载能力高低相关的“桩对锤冲顶”、“溜桩”和“等能量条件下嵌岩桩的端阻力发挥效率高于静载试验”等动力学现象,充实了动力试桩的理论基础,分析了RLT的原理缺陷,提出了DLT与RLT相互融合的建议。

       

      Abstract: The dynamic load test (DLT) and the rapid load test (RLT) on piles both pursue the full activation of pile capacity during the impact event and evaluate the pile capacity by measuring and analyzing the impact excitation and response signals of pile top. However, the both tests require 3~5 times different weights of drop mass or inertial reaction mass as well as distinct mechanical principles. Based on the hammer-pile-soil interaction model established under the combination of the traditional pile-soil interaction mode and the drop mass system, the analysis of wave mechanics, the proof of momentum theorem and the comparison of test cases show that the momentum and energy transfer of the hammer are related to the compressive resistance of the pile and influenced by the impedance ratio or mass ratio of the hammer and the pile and the side/tip resistance distribution of the pile. The influences of different side/tip resistances and impedance ratios on the energy transfer and impulse change and the dynamic phenomena relating to the level of the pile capacity, "pile-to-hammer bump", "pile run-away"and "higher efficiency of tip resistance mobilization for piles resting on hard bedrock than that of the static load tests under the equivalent energy consumption circumstances" are analyzed, which enriches the dynamic load tests on the piles. The principle defects of RLT are analyzed, and the integration of DLT and RLT is suggested.

       

    /

    返回文章
    返回