粗糙岩石单裂隙非达西流动的试验和数值模拟研究

    Experimental and numerical studies on non-Darcian flow in single rough-walled rock fracture

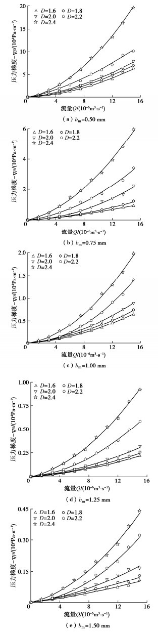
    • 摘要: 采用3D雕刻方式制作了一批具有特定粗糙度的砂岩裂隙样品,结合自行设计的可定量调整粗糙岩石单裂隙开度的装置,实现了在试验中对岩石单裂隙试样开度和表面粗糙度的定量化控制。开展一系列不同流量下的渗流试验,研究了平均开度和表面粗糙度对粗糙岩石单裂隙非达西流动的影响。结果表明Forchheimer方程可以准确的描述裂隙中流体流量与压力梯度间的非线性关系。分形维数是表征岩石裂隙表面粗糙度的有效参数,其增大主要导致裂隙的曲折程度增大而使流动路径变得更复杂,从而促进非达西流动的发生。建立了惯性渗透率与平均开度和分形维数之间的经验定量化模型,通过直接求解Navier-Stokes方程来开展三维粗糙单裂隙渗流模拟,验证了所建立模型的准确性和所开展渗流试验的可靠性。粗糙岩石单裂隙的平均开度越小、表面粗糙度越大则所建立的经验定量化模型预测的结果就越精确。

       

      Abstract: A series of rough-walled rock fracture specimens with specific surface roughnesses are made by using the three- dimensional carving. After that, the self-designed apparatus which can quantitatively change the aperture of single rock fracture is adopted to realize the purpose of aperture and surface roughness to be quantitatively controlled in the experiment. The seepage experiments on all rock fracture replicas at different flow rates are carried out to study the influences of the mean aperture and surface roughness on the non-Darcian flow in a single rough-walled rock fracture. The results show that the Forchheimer equation is suitable for characterizing the non-Darcian flow in rough-walled fractures. The fractal dimension is an effective parameter to reflect the surface roughness of rock fracture, and the increase of fractal dimension mainly leads to an enlargement in degree of tortuousness and results in the increased complexity of flow paths. An empirical quantification model is established to relate the inertial permeability to the mean aperture and fractal dimension. The numerical simulations by directly solving the Navier-Stokes equation are performed to investigate the non-Darcian flow in three-dimensional rough-walled fractures with different apertures and roughnesses. The inertial permeabilities of the simulated results agree well with those of the empirical quantification model and experiments, indicating that both the model and the experiments are reliable. The prediction accuracy of the empirical model increases with the decrease of the mean aperture and increase of surface roughness.

       

    /

    返回文章
    返回