考虑体变特征的遗址土脱湿过程持水特性

    Water retention characteristics of earthen heritage soil during desiccation considering volumetric change

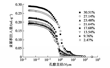
    • 摘要: 作为土遗址最常见的病害,表层结皮龟裂及剥离严重威胁文物本体的存续,然而目前有关其形成过程和内在机理的系统研究仍显不足。以世界文化遗产——交河故城为对象,开展泥浆样的自由收缩试验和压汞试验,从宏、微观角度综合探究试样在干燥过程中的体积变化规律;结合已有的质量含水率与基质吸力关系,建立考虑体变的修正van Genuchten(vG)模型的土水特征曲面模型;最后基于微观孔隙分布特征开展持水性预测与分析。结果表明:遗址土泥浆试样的收缩特征曲线具有多阶段特征,孔隙比随着含水率降低先快速减小,再渐趋稳定;孔径分布曲线形态经历了单峰与双峰结构互相转换的过程;脱湿土水特征曲面能够有效反映基质吸力和孔隙比对饱和度的综合影响。结果对定量揭示土遗址表面雨蚀泥浆的干缩及其后续开裂破坏等行为特征具有重要参考价值。

       

      Abstract: As the most common pathology in earthen heritages, cracking and exfoliation of surface crusts severely threaten their long-term conservation. At present, however, systematic researches regarding the formation and the underlying mechanisms of such deterioration are sufficient. Aiming at the Site of Yar City, which is a World Heritage, free shrinkage tests and mercury intrusion porosimetry tests are conducted on slurry specimens to investigate the pattern of volumetric change during desiccation from both macro- and micro-perspectives. Based on the existing relationship between the gravimetric water content and the matric suction, a revised van Genuchten (vG) soil-water characteristic model with consideration of volumetric change is proposed for the earthen heritage soil. Finally, the water retention characteristics are predicted and analyzed on the basis of micro-pore structure. The results show that the shrinkage characteristic curve of the tested soil slurry has multi-stages. As the water content decreases, the reduction of void ratio is fast at first and then tends to be a gradual stabilization, while the pore-size distribution curve transforms between monomodal and bimodal forms. The obtained dehydrating soil-water characteristic surface can reflect the synthetic influences of matric suction and void ratio on degree of saturation. It is important to quantitatively reveal the drying shrinkage and subsequent cracking behavior of slurry induced by rainfall erosion on the surface of earthen heritages.

       

    /

    返回文章
    返回