基于多元概率分布模型的珠海黏土多参数预测

    Multi-parameter prediction of Zhuhai clay based on multivariate probability distribution model

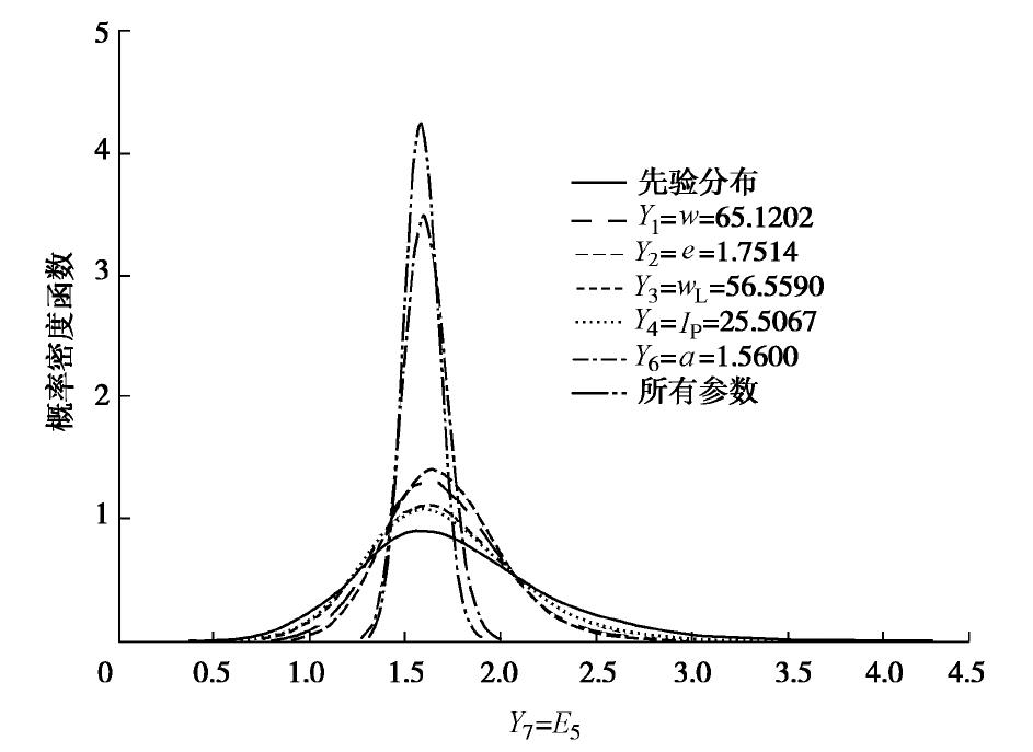
    • 摘要: 在岩土工程实践中,一个重要任务是根据场地勘察报告获取实际设计中所需要的设计参数。土体参数之间的相互转换对于岩土工程实践具有重要意义。本文在前人研究的基础上,对珠海市某城区的软土的室内试验及现场数据进行了分析,并建立了9个土体参数的多元概率分布模型以及相应的贝叶斯更新模型。使用该贝叶斯模型可以方便地使用多元土体参数信息对未知参数进行更新预测,研究表明,多参数更新预测模型能够综合所有已知土体参数的信息,从而有效提升对于未知参数预测的准确性。

       

      Abstract: In geotechnical engineering practice, an important task is to obtain the design parameters required based on the site survey report. The mutual conversion of soil parameters is of great significance to the practice of geotechnical engineering. Based on the previous studies, the laboratory test and field test data of soft soil in a certain urban area of Zhuhai are analyzed. A multivariate probability distribution model of 9 soil parameters and a Bayesian updating model are established. Using this Bayesian updating model can easily make use of the information of multiple soil parameters to predict unknown parameters. The results show that the multi-parameter prediction model can synthesize the information of all known parameters, thereby effectively improving the accuracy of predicting unknown parameters.

       

    /

    返回文章
    返回