广东阳江地区海洋软土HSS模型参数的试验研究

    Experimental study on HSS model parameters for marine soft soils in Yangjiang, Guangdong Province

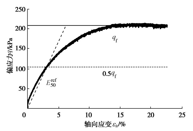
    • 摘要: 海上风机对循环动荷载作用下基础的倾斜和振动频率均有严格的控制要求,其中海洋土的小应变模量特性起着至关重要的作用。由于小应变硬化(Hardening Soil-Small, HSS)模型能够反映土体在小应变范围内模量的高度非线性,其在岩土工程变形分析中得到了广泛的应用。利用室内一维固结仪、GDS应力路径三轴仪及弯曲元波速测试系统,测定了广东阳江地区典型海洋软土HSS模型参数,包括强度参数c'φ',刚度参数EoedrefE50refEurref,破坏比Rf和小应变参数G0ref。基于试验结果,建立了实测模型参数与土体孔隙比之间的关系,并对该地区海洋软土HSS模型参数的取值给出了初步建议。

       

      Abstract: The offshore wind turbine structure has strict control criteria of the tilt and the resonant frequency of the foundation, while the small strain stiffness of the marine soils plays an important role in these properties. The hardening strain model with small strain (HSS) can appropriately consider the nonlinear stiffness degradation in the small strain range. The laboratory oedometer, GDS triaxial and bender element tests are carried out to determine the HSS model parameters for typical marine soft soils in Yangjiang, Guangdong Province. The parameters include the strength parameters c', φ', stiffness parametersEoedref,E50ref,Eurref, failure ratio Rf and small strain shear stiffnessG0ref at a reference stress. The test results are analzsed, and the relationship between these parameters and void ratio of the soils is proposed. It provides useful suggestions for determining the HSS model parameters of the marine soft soils in Yangjiang.

       

    /

    返回文章
    返回