膨润土吸湿过程中膨胀力演化及水分分布特征

    Swelling pressure evolution and water distribution characteristics of bentonite during wetting process

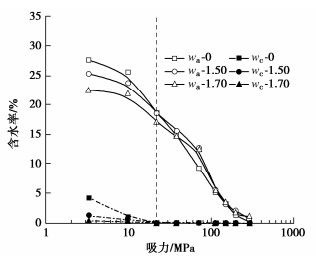
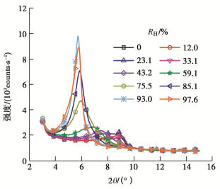
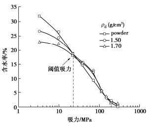
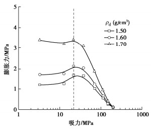
    • 摘要: 压实膨润土被广泛地用作密封阻隔材料,其膨胀力变化对于工程设计十分重要。采用蒸汽平衡法控制吸力,研究增湿过程中的膨胀力变化规律,并采用核磁共振(NMR)和X射线衍射(XRD)技术,分析吸湿过程中土体水分分布状态与宏观膨胀行为的关联机制。结果表明,在控制湿度条件下,随着吸力降低,膨胀力先线性增加后稍稍降低;当吸力超过21.8 MPa后,不同干密度试样的含水率基本一致,在低吸力段,含水率随干密度降低而增加;吸湿过程中膨润土矿物晶层间逐层吸水,形成不超过2层水分子厚度吸附水;利用T2分布曲线计算了不同干密度试样的吸附水和毛细水含量,发现膨润土中主要为吸附水,存在少量毛细水(< 5%)。分析认为,在吸湿过程中,水分首先吸附到层间区域,膨胀力线性增加,当形成少量毛细水后,颗粒滑移导致膨胀力降低。即,膨胀力的演化在高吸力下受层间水合作用控制,在低吸力下受孔隙结构变化影响。

       

      Abstract: The compacted bentonite is widely used as the sealing barrier material, and its swelling pressure is regarded as an important design index. A device based on vapor equilibrium technique is designed for measuring the swelling pressure of expansive soils in unsaturated environment. The nuclear magnetic resonance (NMR) and X-ray diffraction (XRD) techniques are used to analyze the correlation mechanism between water distribution and macroscopic swelling behaviors of the bentonite during wetting process. The test results show that under the relative humidity control, with the decrease of the suction, the swelling pressure first increases linearly and then decreases slightly. When the suction exceeds 21.8 MPa, the water content of the samples with different dry densities is basically the same. In the low suction range, the water content increases with the decrease of the dry density. During the wetting process, the interlayers of the bentonite absorb water layer by layer, forming no more than two layers of adsorbed water. According to the wetting curves with different dry densities, the contents of the adsorbed and capillary water are calculated using the T2 distribution curve. It is found that there is mainly the adsorbed water in the bentonite, with a small amount of capillary water (< 5%). The analysis shows that water is first adsorbed to the interlayer region, and the swelling pressure increases linearly. When a small amount of the capillary water is formed, particle slip leads to a decrease in the swelling pressure. Therefore, the swelling pressure evolution during the wetting process is controlled by interlayer hydration under high suction and affected by changes in pore structure under low suction.

       

    /

    返回文章
    返回