悬臂式挡土墙地震主动土压力计算方法

    Method for calculating seismic active earth pressures on cantilever retaining walls

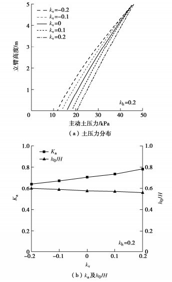
    • 摘要: 为确定悬臂式挡土墙立臂的地震主动土压力,针对墙后填土的5种可能失稳破坏模式,基于对数螺旋式滑裂面形态,采用极限分析上限定理与拟静力法推导了作用于假想坦墙背上的地震土压力合力;在此基础上,对坦墙背后滑楔体、立臂与坦墙背之间的土体分别采用斜条分与水平条分法,并通过土压力合力的上限解对坦墙背上的土压应力进行修正,进而求得立臂上的土压力分布。实例分析表明,立臂静土压力沿深度分布呈顶点位于下部的抛物线模式;地震土压力分布一般呈非线性递减模式,计算值与试验值有良好的一致性;两种工况下合力作用点分别位于立臂下半段与上半段。参数分析显示,水平地震影响系数、踵板宽度和立臂倾角的增加均使立臂中上部地震主动土压力显著增大;地震条件下增长踵板宽度会导致立臂受力增加。在强震条件下,本法得到的立臂土压力比铁路规范法的结果高出约9%~14%,立臂底端弯矩更显著高于规范法结果,规范法进行强震条件下悬臂墙的抗震设计可能偏于不安全。

       

      Abstract: In order to determine the seismic active earth pressures on the stem of a cantilever wall, the resultant of the earth pressures on the assumed plane wall back is firstly derived using the upper-bound limit analysis and the pseudo-static method for five types of potential failure modes based on the log-spiral slip surface. The oblique and horizontal slice methods are secondly adopted respectively for the slide wedge mass and the local soils between the stem and the plane wall back to determine the earth pressure distribution on the stem, in which the earth pressure on the plane wall back are calibrated by the upper bound solution for the resultant of earth pressures. Some examples show that the proposed distribution of the earth pressures on the stem with depth takes on a parabolic profile with the peak point on the lower segment of the stem under the static condition, whereas it presents a nonlinear decreasing mode fairly identical with the test results under the seismic condition. The application point of the resultant is located on the lower and upper segments of the stem under the static and seismic conditions, respectively. The parameter study shows that the increase of horizontal seismic coefficient, heel plate width and stem back inclination induces a significant increase of the seismic active earth pressures on the middle and upper segments of the stem. Under the seismic condition, broadening the width of heel plate can cause the increase of the stresses on the stem. In particular, the proposed earth pressures on the stem are 9%~14% higher than those by China's code for design of retaining structures of railway earth works under strong earthquakes, and the proposed bending moments at the stem bottom are noticeably greater than those by the above code, which naturally means the Norm is not safely suitable for the aseismic design under strong earthquakes.

       

    /

    返回文章
    返回