主动平移模式下墙后非饱和砂土破坏模式及侧向土压力分布试验研究

    Experimental study on failure mode and lateral earth pressure distribution of unsaturated sand behind retaining walls under active translation mode

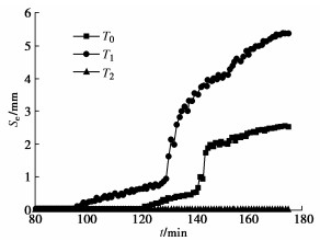
    • 摘要: 在主动平移模式下,开展一系列不同墙面粗糙度和砂土含水率情况下刚性挡墙主动土压力室内模型试验,通过渗压计和土压力盒分别监测了基质吸力和土压力的变化,并基于DIC图像关联技术获取破裂面位置,进而分析了基质吸力和界面粗糙度对主动土压力和土体破裂面形状的影响。试验结果表明:随着含水率增加,砂土破裂面逐渐向外移,原因在于当砂土基质吸力大于其进气值时,吸应力随基质吸力的增大而减小,进而使土体抗剪强度降低;达到主动极限状态后,破裂面过墙踵,但比库仑破裂面要浅,二者差异随基质吸力减少而增小;墙土界面摩擦对滑动破裂面形状的影响很小。此外,主动土压力在墙体中上部区域,随着深度增加而近似呈线性增大,但在墙踵附近区域,松砂传递的摩阻力使土压力出现略有减小;实测主动土压力值始终小于库仑主动土压力值,其差值随着含水率的增大而增大;相比摩擦角的影响,吸应力对土压力作用更为明显。

       

      Abstract: Under the active translation mode, a series of laboratory model tests on the active earth pressure against rigid retaining walls with different wall roughnesses and water contents of backfill are carried out, in which the matric suction and earth pressure are monitored by embedding the piezometer and earth pressure cell, respectively, and the position of the failure surface is obtained by using the DIC technique, and the effects of the matric suction and interface roughness on the earth pressure and the shape of the failure surface are discussed. The test results show that with the increase of the water content, the failure surface tends to move outward. The reason is that when the matric suction of sand is greater than its air entry value, the suction stress decreases with the increase of the matric suction, which in turn reduces the shear strength of the soil. After reaching the active limit state, the fracture surface passes the wall heel but is shallower than the Coulomb failure surface, and the difference between them increases with the decrease of the matric suction. The wall-soil interface friction has a few effects on the shape of failure surface. Furthermore, in the middle and upper parts of the wall, the active earth pressure increases approximately linearly with the increase of depth, but in the area near the heel of the wall, the earth pressure shows a slight decrease, which is mainly caused by the frictional resistance transmitted by loose sand. The measured active earth pressure is always smaller than that of Coulomb active earth pressure, and the difference increases with the increase of the water content. Compared with the influences of the friction angle, the suction stress has a more obvious effect on the earth pressure.

       

    /

    返回文章
    返回