地下水渗流条件下土工膜复合隔离墙中有机污染物迁移研究

    Migration of organic contaminants in composite geomembrane cut-off wall considering groundwater seepage

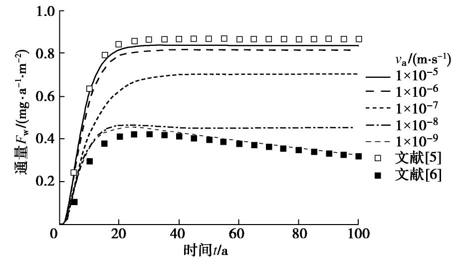
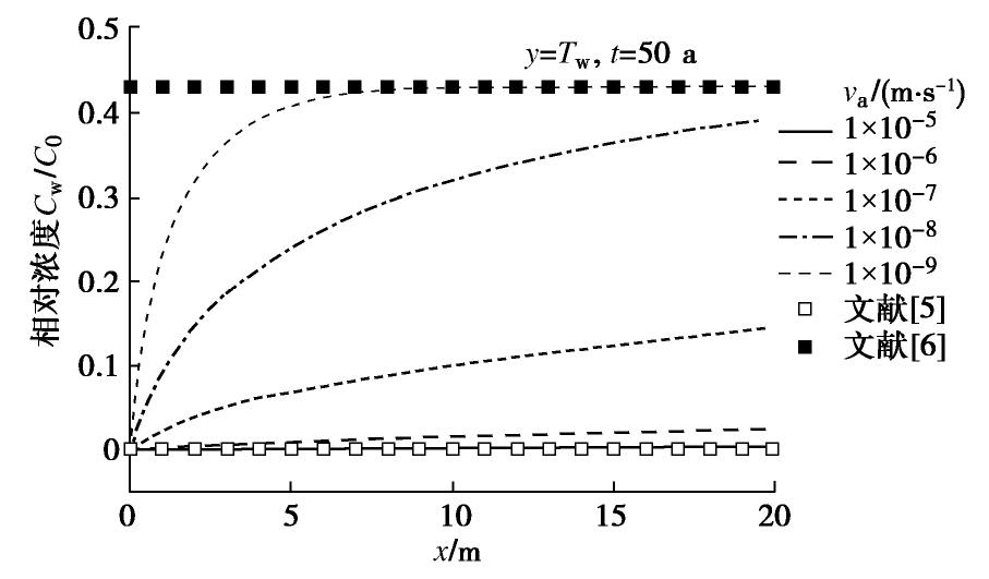
    • 摘要: 土工膜复合隔离墙是当前最有效的污染场地管控技术之一。针对复合隔离墙外侧含水层中存在地下水渗流的情况,建立了有机污染物在复合隔离墙-含水层中迁移的数值模型,并利用有限元软件COMSOL 5.3进行计算。基于该模型,对含水层及复合隔离墙参数影响进行了系统分析。结果表明:地下水渗流速度增大将加速污染物迁移出复合隔离墙,并导致墙体中污染物浓度下降;当渗流速度高于1×10-5 m/s或低于1×10-9 m/s时,基于零浓度边界条件和无对流含水层边界条件的解析模型方可用于复合隔离墙初步设计;土工膜的最佳位置与污染物类别及地下水流速密切相关,不同土工膜位置情况下的复合隔离墙外侧界面累积总通量差距可达10%~20%;采用EVOH共聚土工膜时的复合隔离墙防污性能显著优于采用HDPE土工膜。

       

      Abstract: The composite geomembrane cut-off wall (CGCW) is one of the most effective technologies to prevent the horizontal migration of contaminants at present. Considering the characteristics of groundwater seepage in the outside aquifer, a numerical model for migration of the organic contaminants into the CGCW-aquifer system is established, and is solved using the finite element software COMSOL 5.3. The influences of parameters of the aquifer and CGCW are comprehensively investigated. The increase of the groundwater flow rate in the outside aquifer will accelerate the migration of contaminants and decrease the concentration of contaminants in the CGCW. In addition, when the seepage velocity is higher than 1×10-5 m/s and lower than 1×10-9 m/s, the models based on the boundary conditions of zero concentration and non-advection aquifer can be applied to the preliminary design of CGCW. Furthermore, the optimal location of the geomembrane in the CGCW is closely related to the type of contaminants and groundwater flow rate of the outsider aquifer, and the difference among the cumulative mass fluxes of the outlet face in the CGCW at different geomembrane locations can reach 10%~20%. The performance of the CGCW with EVOH geomembrane is significantly better than that of the CGCW with HDPE geomembrane.

       

    /

    返回文章
    返回