临岸深筒形基坑支护结构整体抗倾覆稳定计算方法

    A method for analyzing anti-overturning stability of global retaining structures for deep slender foundation pits near bank slopes

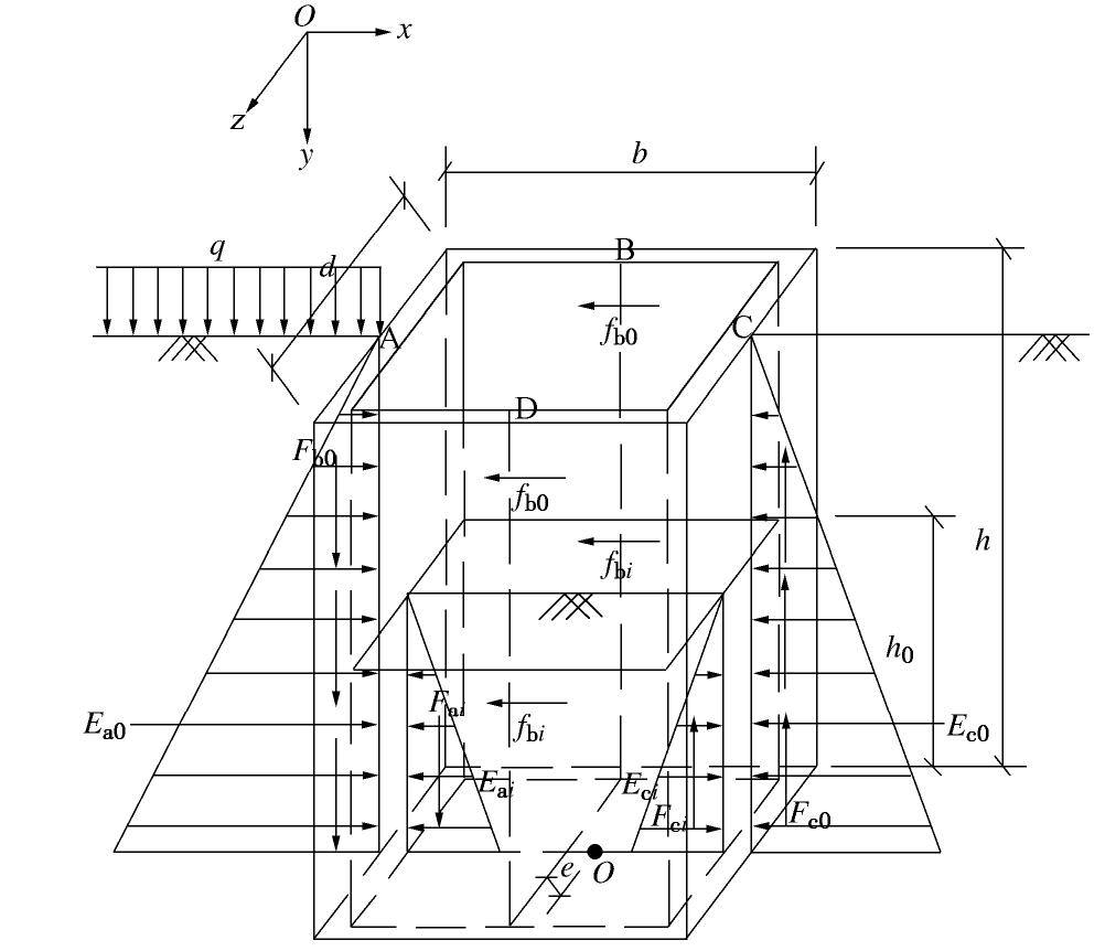
    • 摘要: 临近岸坡的深筒形基坑支护结构有发生整体倾覆破坏的可能性。通过室内模型试验与有限元数值模拟对倾覆破坏形式进行了研究,并提出了砂性土中支护结构整体抗倾覆稳定安全系数的计算方法。该计算方法考虑了支护结构空间效应、坑内及坑外临岸坡侧有限土压力的影响。通过实例计算发现,临岸深筒形基坑支护结构整体抗倾覆稳定安全系数随土的重度、内摩擦角的增大而增大;岸坡距离结构越远、坡角越小、坡深越小,结构越安全;远离岸坡侧坑外超载值越大,结构越不安全;当结构与岸坡距离、岸坡高度达到一定值时,基坑支护结构整体抗倾覆稳定安全系数趋于稳定。

       

      Abstract: The retaining structures for deep slender foundation pits near bank slopes are likely to overturn globally. The overturning failure mode is studied through indoor model tests and finite element numerical simulation, and a new method for analyzing the factor of safety of anti-overturning of retaining structures in sandy soils is suggested. The spatial effects of a retaining structure for a deep slender foundation pit as well as the influences of the earth pressures from the limited soil masses both inside and outside the pit are taken into account in the calculation of the factor of safety. From the calculated results of some exemples, it is found that the factor of safety of anti-overturning stability increases with the unit weight and the angle of internal friction of the soil. The further the bank slope is away from the retaining structures, the smaller the slope angle and the shallower the slope, the larger the factor of safety of the structures is. The larger the value of the surcharge loading on the side away from the bank slope is, the unsafer the structures are. However, when the distance between the structures and the bank and the slope depth reach respectively their certain values, the factor safety will be a constant value.

       

    /

    返回文章
    返回