驻波作用下粉土海床累积液化机制分析

    Mechanism of residual liquefaction of silty seabed under standing waves

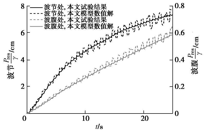
    • 摘要: 波浪被防波堤或岸壁反射时形成驻波,使其前面的水域发生强烈振荡,海床发生液化,可能导致结构物失稳破坏。以黄河三角洲粉土海床为研究对象,进行一系列驻波水槽试验,研究驻波作用下波腹剖面土体累积液化机制,在此基础上,采用数值模型进一步研究驻波作用下波浪参数(水深、波陡)和土体参数(饱和度)对海床累积液化的影响规律。结果表明:驻波作用下海床累积液化的发生与循环应力水平有关,当循环应力比χ达到累积液化所需的临界值χcr时,发生累积液化,深层土体累积液化所需的χcr大于浅层土体。波腹剖面土体液化所需的χcr远大于波节剖面,发生初始液化所需的时间大于波节剖面,液化深度小于波节剖面。波腹剖面土体累积液化是由波节及相邻位置向波腹剖面传递的超孔隙水压力Pres1,和波腹剖面土体受循环正应力影响发生静压屈服引起的超孔隙水压力Pres2两部分共同作用所致。本试验中,在深度z=-0.05 m,波浪作用时间t≈600 s时,前者贡献比α1≈54.3%,后者α2≈45.7%。波节和波腹剖面土体累积孔隙水压力沿深度分布模式有差异,随水深减小,波陡增加,饱和度减小,海床液化深度在波节和波腹剖面均增大。

       

      Abstract: The standing waves exist when the progressive waves are reflected by the breakwater or the bank wall, which leads to the water surface oscillating where it is and the waveform doesn’t advance. Seabed soil will undergo liquefaction under standing waves, resulting in the instability of seabed foundation of marine structures. Based on the silt seabed in the Yellow River Delta of China, a series of wave flume experiments are conducted under standing waves so as to investigate the liquefaction mechanism at the antinodal section. Then, a parametric study is conducted with the proposed model to investigate the effects of the soil and wave characteristics on residual liquefaction. The results indicate that the onset of residual liquefaction is linked with cyclic stress ratio. The residual liquefaction occurs when the cyclic stress ratio χ equals the critical value χcr, and the required χcr in deeper layer is larger that of the shallow layer. The required χcr at the antinodal section is far more than that at the nodal section, and the required wave loading time is longer and the liquefaction is smaller than that at the nodal section. The horizontal transporting of pore pressure and the accumulating of plastic volumetric strain induced by cyclic normal stress contribute to the liquefaction at the antinodal section simultaneously, and the experimental results revealthat the former and the latter contribute to 54.3% and 45.7% respectively at the depth of 0.05 m. The discrepancy of the distribution pattern of the excess pore water pressure exists between the nodal section and the antinodal section. The shallower the water depth, the higher the wave steepness, and the smaller the saturability results in a deeper liquefaction depth.

       

    /

    返回文章
    返回