红黏土土质覆盖层水力参数随服役时间演变规律分析

    Evolution of hydraulic parameters of red clay cover with service time

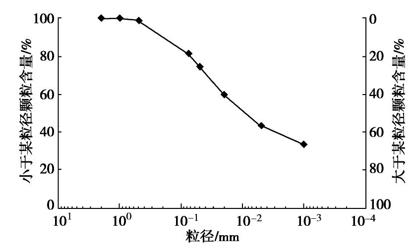
    • 摘要: 红黏土具有高液(塑)限、低渗透、中—低压缩性和较高的力学强度,在西南喀斯特地区广泛用于路基、土石坝、各类尾矿和垃圾填埋封顶覆盖等防渗工程。对红黏土开展了实验室和现场水力参数对比测试;在填埋场建设了红黏土覆盖层试验区并开展了自然气候条件下的长期服役水力参数监测;分析对比了有、无植被红黏土水力参数的不同变化。结果表明:①红黏土饱和渗透系数在10-7 cm/s量级,渗透性低,防渗性能好;有效储水率约18.8%,与粉土—粉质黏土相当,储水能力好。②现场大体量大范围施工而实验室精细制样导致两者土样结构有显著差异。干密度相近时,现场土饱和入渗系数比室内重塑土大36.62%,防渗设计中应充分考虑实验室到现场间压实土防渗性能的“打折”现象。③在2.0年的长期服役中,无植被红黏土覆盖层在日照、降雨循环作用下因土层开裂导致渗透系数较建设之初最大增加2.9×104倍;有植被时渗透系数较建设之初或减小或增加,最大增加10倍,且与植被生长状态有关。有、无植被红黏土入渗系数和开裂情况对比表明:植被对土质覆盖层细粒土因日照-降雨气候作用导致防渗性能的劣化有明显的抑制作用。

       

      Abstract: Red clay is characterized by high liquid (plastic) limit, low permeability, medium-low compressibility and highmechanical strength. It is widely used in anti-seepage projects such as roadbed, earth dam, tailings and landfill cover in karst areas of southwest China. The hydraulic parameters of the red clay are tested in laboratory and field. The test area of red clay cover is built in landfill site, and the long-term service hydraulic characteristic parameters are monitored in natural climate. The hydraulic parameters of the red clay cover with and without vegetation are analyzed. The results show that: (1) The saturated permeability coefficient of the red clay is 10-7 cm/s with low permeability and good anti-seepage performance. The effective water storage rate is about 18.8%, which is equivalent to that of silt and silty clay, and the water storage capacity is acceptable. (2) The large-scale construction in the field and the fine sample preparation in the laboratory lead to significant differences in the structure of the two soil samples. With similar dry density, the saturated permeability coefficient of field red clay is 36.62% higher than that of laboratory remold red clay. The "discount" phenomenon of anti-permeability of compacted soil from laboratory to site should be fully considered. (3) In long-term service of 2.0 years, the permeability of the red clay cover without vegetation increases by the maximum increase of 5×103 times that at the beginning of construction due to soil cracking under the sun-rainfall cycle. With vegetation, the permeability increases or decreases compared with that at the beginning of construction (the maximum increase of 10 times) and is related to the vegetation growth state. It is shown that the vegetation has an obvious inhibitory effect on the permeability deterioration of fine-grained soil due to sun-rainfall cycles.

       

    /

    返回文章
    返回