三轴应力路径下珊瑚砂的颗粒破碎模型
Particle breakage model for coral sand under triaxial compression stress paths
-
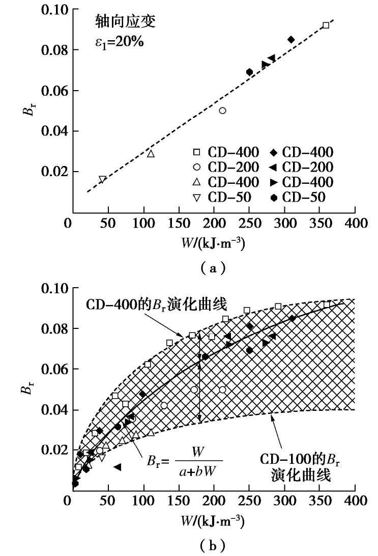
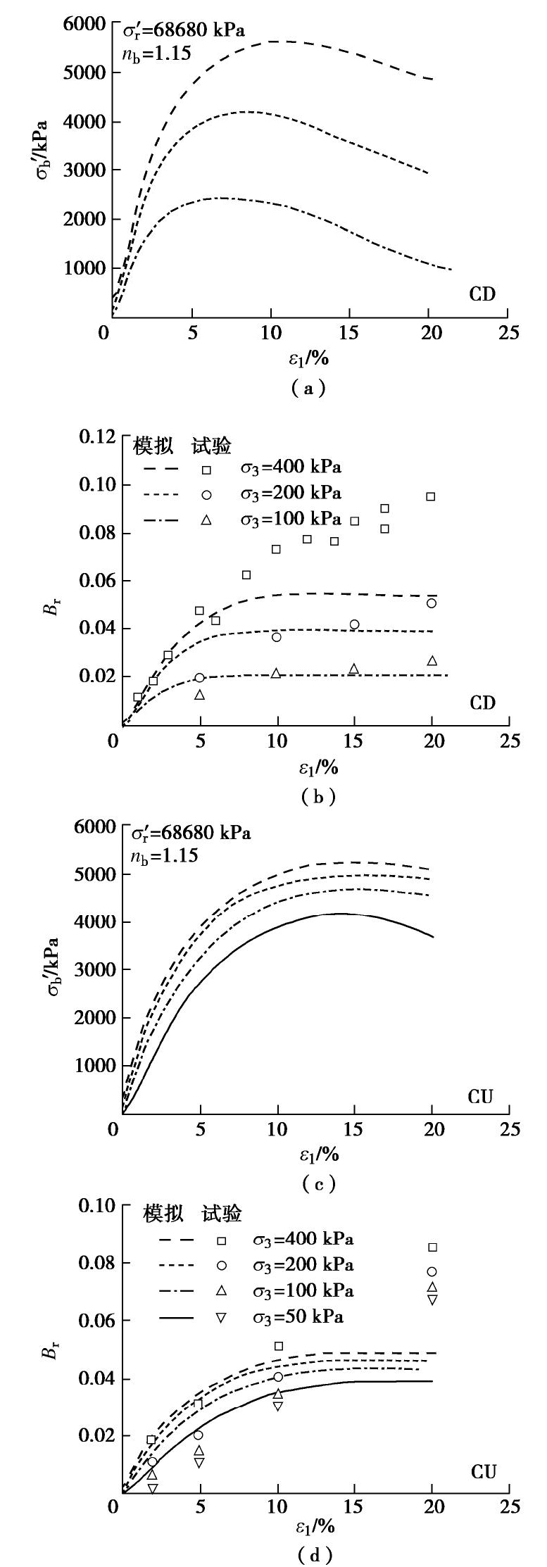
摘要: 基于不同轴向应变下平行试样的三轴试验结果,分析了珊瑚砂在三轴排水与不排水条件下颗粒破碎随加载的演化过程,探讨了现有的颗粒破碎能量模型和基于应力的Hardin破碎模型的局限性。为了更好地分析颗粒破碎中间发展过程的特征,将引起颗粒破碎的机制分解为压缩和剪切两部分,并分别建立了与之相对应的破碎模型。压缩机制是指在等应力比条件下有效球应力增大导致的压缩效应,它所引起的颗粒破碎与当前的应力状态有关。剪切机制是指剪应力比变化所导致的剪切效应,它所引起的颗粒破碎与已经累积的颗粒破碎量以及剪应变的大小有关。最后,通过与珊瑚砂三轴试验结果的比对初步验证了压缩和剪切破碎模型的合理性。Abstract: Based on the triaxial experimental results of parallel specimens loaded under various axial strains, the intermediate particle breakage process of a coral sand is investigated, and the limitations of the energy-based breakage correlation and the popular stress-based Hardin breakage model are discussed. In order to reveal the characteristics of its intermediate accumulating process more conveniently, the particle breakage is decomposed into two parts based on the loading mechanisms: (1) compression-induced particle breakage associated with the increase of mean effective stress, and (2) shear-induced particle breakage related to the change of shear stress ratio. The amount of compression-induced particle breakage can be correlated to the current stress state. The accumulating rate of shear-induced particle breakage depends on both the shear strain and the accumulated amount of particle breakage during the past stress history. Two mathematical models are presented for the two particle breakage parts respectively, and the effectiveness of the two models is demonstrated by simulating the triaxial test results of the coral sand.
下载: