埋地排水管道高聚物注浆修复受力特性分析

    Mechanical characteristics of buried drainage pipes repaired by polymer grouting technology

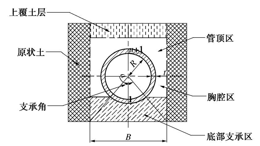
    • 摘要: 高聚物注浆非开挖修复技术目前已广泛应用于地下管道的渗漏脱空修复处置,但对修复后管道计算理论和方法的研究相对不足。为此,依据弹塑性理论建立管-土-高聚物相互作用分析Winkler模型和Vlazov模型,推导了高聚物注浆修复管土相互作用计算公式,基于传递矩阵法,编制了MATLAB计算程序。计算分析结果与管道试验结果进行了对比,探讨了多工况下不同因素对高聚物注浆修复后管道内力和变形的影响等。分析结果表明:模型计算得出的径向变形和环向弯矩数值及变化趋势与试验值符合较好,其中采用Vlazov模型得到的结果与试验值更为接近。此外管道底部脱空对管道的整体力学性能有较大的影响,高聚物注浆后对于脱空管道具有较好的修复作用,分析显示修复后管道的内力和变形接近正常管道。研究方法和计算结果对管道高聚物注浆修复分析与管道脱空修复设计具有参考价值。

       

      Abstract: The polymer grouting technology can be used to repair the leakage and subsidence of buried pipelines, but there have been insufficient researches on the calculation theory and methods of the pipeline repairing process. Therefore, a Winkler model and a Vlazov model are established to analyze the pipe-soil-polymer interaction based on the elastoplastic theory, the relevant formulas for the pipe-soil interaction under polymer grouting are derived, and a MATLAB calculation program is compiled based on the transfer matrix method. Then the calculated values are compared with the experimental ones of pipelines, and the influences of different factors on the internal forces and deformations of the polymer-repaired pipelines are discussed under different work conditions. The results show that the values and trends of the radial deformations and circumferential bending moments calculated by the models are consistent with the experimental results, and the results obtained by the Vlazov model are closer to the experimental values. In addition, the void at the bottom of the pipelines has a negative impact on their overall mechanical properties. However, the polymer grouting can repair disengaged pipelines effectively and even restore their mechanical properties to normal levels. The proposed methods and the calculated results are valuable for polymer repairing analysis and void repairing design of the pipelines.

       

    /

    返回文章
    返回