原状软黏土空心圆柱试样制备技术改进及应用

    Improvement and application of preparing technique for hollow cylinder samples of undisturbed soft clay

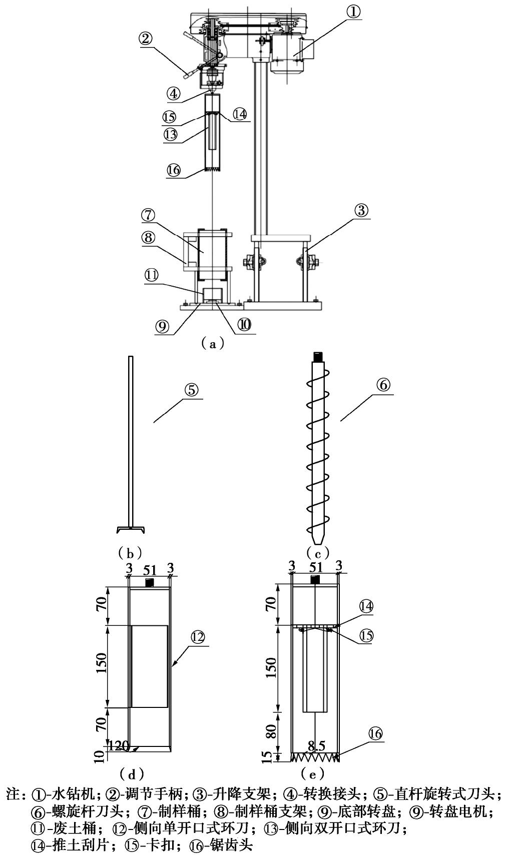
    • 摘要: 原状土空心试样的制备给土力学特性试验研究带来一系列棘手的问题,受取芯扰动的影响,目前在复杂应力条件下开展原状软黏土力学特性试验研究的可靠性有待进一步的提高。基于传统机械法设计了制备软黏土试样的新型装置及方法,具有台式水钻机、可拆卸更换钻头、制样桶等部件,操作便捷,制样质量良好,且对土样扰动较小,可快速制备大量空心圆柱试样。采用空心扭剪仪(HCA)开展了原状土圆柱试样在主应力轴偏转路径下的不排水剪切试验,得到了软黏土的孔压开展曲线和累积应变发展规律曲线。研究结果表明:复杂应力条件下所制试样土样力学性态演变规律较为可靠,满足试验要求。

       

      Abstract: Preparation of undisturbed soil hollow samples brings a series of difficult problems to the experimental researches on mechanical properties of soil. Due to the influences of coring operation disturbance, the reliability of experimental research on mechanical properties of undisturbed soft clay under complex stress path need to be further improved. A new device and method for preparing soft clay sample are designed based on the traditional mechanical method. It has a desktop water drill, a detachable drill bit, and a sample barrel. It is easy to operate, has good quality, and has less disturbance to soil samples. It can quickly prepare a large number of hollow cylindrical samples. An undrained shear test on the cylindrical specimen of undisturbed soil under the deflection path of the principal stress axis is carried out using the hollow torsional shear apparatus (HCA). The changing curve of pore pressure and cumulative strain through dynamic test can be plotted. The study shows that the mechanical properties of the soil samples produced under complex stress conditions are more reliable and meet the test requirements.

       

    /

    返回文章
    返回