旋挖挤扩灌注桩抗拔机理模型试验

    Model tests on pull-out mechanism of rotary excavation squeezed cast-in-place piles

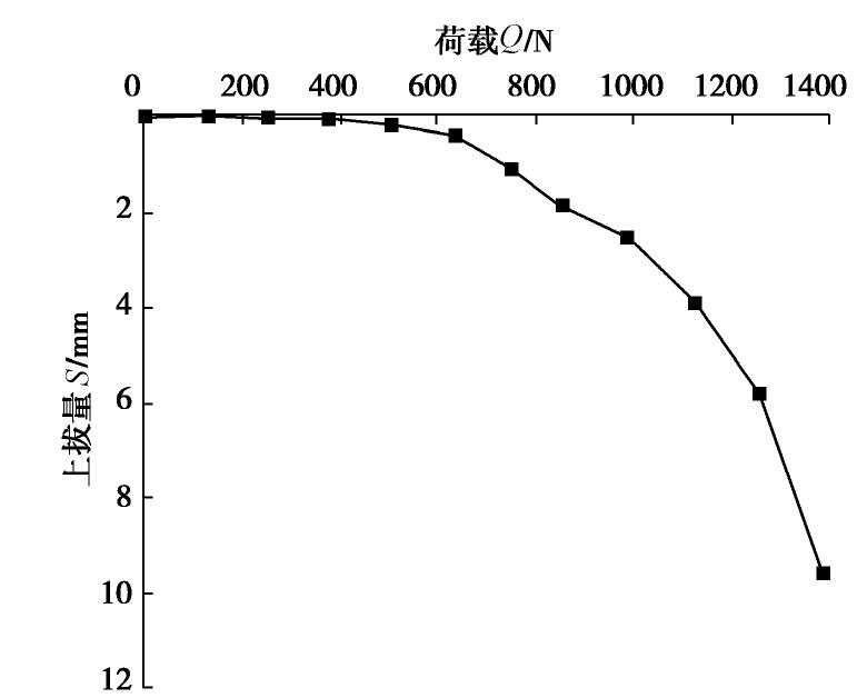
    • 摘要: 通过室内小比尺模型试验,进一步确定了旋挖挤扩灌注桩的承力盘最佳埋深位置和盘间距,为其应用提供必要依据。在粉质黏土层中,通过上拔荷载作用对30 mm桩径的旋挖挤扩灌注桩进行研究,同时,设置等直径桩作为对照组,试验得到等直径桩和旋挖挤扩桩在上拔荷载作用下的Q-s曲线、S-lgt曲线等。研究表明:无论在上拔量还是抗拔承载力方面,旋挖挤扩灌注桩都优于等直径桩,单盘桩的抗拔承载能力大约是等直径桩的1.5~2.3倍,同时,为了保证承力盘盘阻得以发挥充分,单盘桩的承力盘埋深位置至少为6倍桩径,双盘桩的承力盘间距至少为5倍桩径。

       

      Abstract: Through the indoor small scale model tests, the optimal burial depth position and disc spacing of the bearing plate of the rotary excavated squeezed cast-in-situ piles are further determined, which provides the necessary basis for its application. In the silty clay layer, the 30 mm-pile diameter rotary excavation and expansion cast-in-situ pile is researched by the pull-up load. At the same time, an equal-diameter pile is set as a control group. The Q-s curve and the S-lgt curve of the equal-diameter pile and the spin-expansion and expansion-expansion pile are obtained under uplift load. The results show that both in terms of the uplift capacity and the anti-pull capacity, the rotary excavation squeezed cast-in-place piles are better than the equal-diameter ones, and the pull-out bearing capacity of the single pile is about 1.5~2.3 times that of the pile with the same diameter. In order to make sure that the bearing plate resistance is fully exerted, the bearing plate depth of the single plate pile is at least 6 times the pile diameter while that of the double-disc pile is at least 5 times the pile diameter.

       

    /

    返回文章
    返回