岩土工程三轴试验微摩擦荷载传力板的研制及初步应用

    Development and preliminary application of a microfriction load-transfer plate for triaxial tests in geotechnical engineering

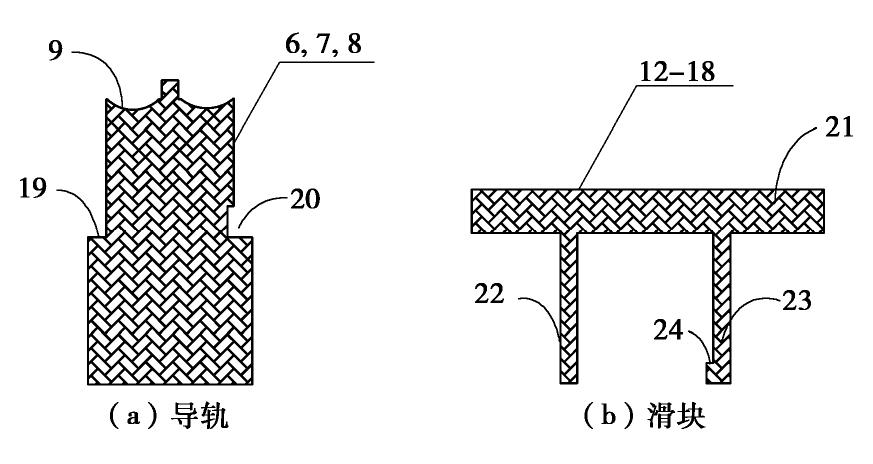
    • 摘要: 针对粗粒土三轴试验中存在的端部约束问题,基于土体与加载板之间的接触由“整体接触变为分散式接触、滑动摩擦变为滚动摩擦”的减摩新方法,研制了岩土工程三轴试验微摩擦荷载传力板。详细介绍了该装置的研制思路、结构原理和细部构造,并通过数值计算进一步论证了分散式接触代替整体接触的减摩措施效果。利用该装置和应力应变式大型三轴仪对典型砂土进行了常规和端部减摩的固结排水三轴剪切试验,研究砂土在端部正常约束和端部自由(微摩擦)条件下的强度和变形特性,分析端部约束对砂土应力应变特性的影响规律。结果表明,端部约束是试样出现鼓胀的根本原因,常规试验方法高估了试样的峰值强度,易使偏应力应变曲线表现软化,并使试样的体变曲线更突出表现出剪胀性。该装置有效解决了三轴试验的端部约束问题,提高了三轴试验结果的可信性。

       

      Abstract: In order to solve the problem of end restraint in triaxial tests on coarse-grained soils, based on a new friction reduction method in which the contact between soils and loading plates is changed from the integral contact to the distributed one and the sliding friction to the rolling one, a load-transfer plate with microfriction loads for triaxial compression tests in geotechnical engineering is developed. The development idea, structural principle and detailed structure of the apparatus are introduced, and the effects of the friction-reducing measures of the distributed contact instead of the integral one are further demonstrated by numerical calculation. By use of this apparatus and a large-scale stress-strain triaxial apparatus, the consolidated drainage triaxial shear tests on the conventional and end friction reduction of typical sand are carried out. The strength and deformation characteristics of sand under normal end restraint and end free (micro-friction) are studied, and the effects of end restraint on stress-strain characteristics of sand are analyzed. The results show that the end restraint is the basic reason for the swelling of the specimen, the peak strength of the specimen is overestimated by the conventional test method, the deviatoric stress-strain curve is softened easily, and the volumetric strain curve of the specimen shows more prominent dilatancy. The apparatus effectively solves the problem of end restraint in triaxial tests and improves the accuracy of triaxial tests.

       

    /

    返回文章
    返回