砂-砾复合地层盾构隧道开挖面稳定模型试验与极限支护压力研究

    Model tests on stability and ultimate support pressure of shield tunnel in sand-gravel composite stratum

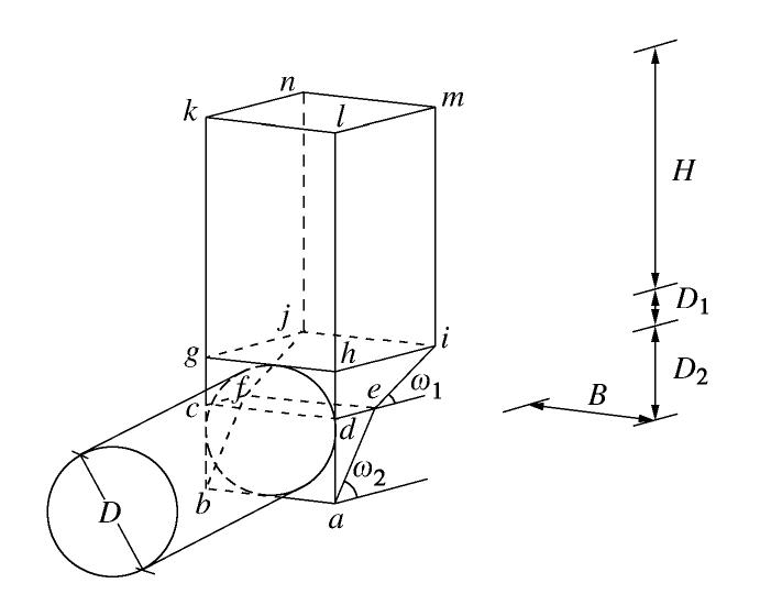
    • 摘要: 砂-砾复合地层盾构掘进时支护力过小极易导致开挖面前方土体发生主动破坏,造成地表沉降。定义砂-砾复合地层σ(盾构开挖面内粉细砂高度与盾构机刀盘直径的比值),并通过试验分析了σ对极限支护力、地表沉降和开挖面失稳扰动范围的影响;基于模型试验和筒仓理论,建立了适用于砂-砾复合地层的盾构隧道开挖面极限支护力计算模型,将σ引入模型中并推导出其计算公式。研究结果表明:①随着开挖面支护力的减小,开挖面发生主动破坏时侧向土压力-支护力曲线表现出不敏感阶段、快速下降阶段、缓慢下降阶段、稳定阶段4个阶段的规律;②破坏时σ越大,越不利于地表沉降控制;③与传统模型相比较,通过试验得知破坏面近似为折线,更贴合砂-砾复合地层的变形破坏模式;④极限支护力随着σ的增大呈近似线性的函数关系增长,覆土深度较大时,应充分重视σ对极限支护力带来的影响;⑤埋地层中,覆土深度对极限支护力的影响更加明显,需引起重视。研究结果对确定砂-砾复合地层开挖面的极限支护力有重要的指导意义。

       

      Abstract: For the shield-tunneling in sand-gravel composite stratum, if the support force is too small, it will easily lead to active destruction of soils in front of the excavation face and cause surface settlement. A parameter for the sand-gravel composite stratum is defined, that is the ratio of height of silty fine sand in excavation face to the cutter diameter of shield machine. Its effects on the ultimate support force, surface settlement and disturbance range of excavation face instability are analyzed. Based on the model tests and the silo theory, a computational model for the ultimate support force of excavation face of shield tunnels is established. It is introduced into the model, and the relevant formula is derived. The results show that: (1) With the decrease of the support force of the excavation face, the lateral earth pressure-support force curve exhibits the laws of insensitive stage, rapid declining stage, slow declining stage and stable stage. (2) The larger the value of σ is, the less conducive the control of surface settlement is. (3) Compared with that by the traditional model, the failure surface being approximately a broken line by the proposed method is more suitable for the deformation and failure mode of sand-gravel composite stratum. (4) The ultimate support force increases in an approximate linear functional relationship with the increase of σ. When the depth of overburden is large, the effects ofσ on the ultimate support force should be paid more attention to. (5) In the shallow stratum, the effects of overburden depth on the ultimate support force are more obvious, and need to be paid attention to. The research results have important guiding significance to determining the ultimate support force of excavation face in sand-gravel composite stratum.

       

    /

    返回文章
    返回