横观各向同性冻胀寒区隧道应力与位移的塑性统一解

    Unified plastic solution for stress and displacement of tunnels in cold regions considering transversely isotropic frost heave

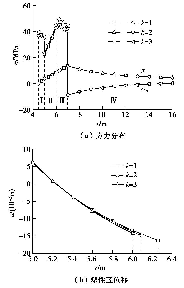
    • 摘要: 以统一强度理论作为寒区隧道冻结围岩塑性状态的判定依据,考虑中间主应力效应和横观各向同性冻胀对围岩强度的综合影响,建立了寒区隧道应力与位移的塑性统一解析解,给出冻结围岩塑性状态的判定方法,并对所得解答进行讨论、验证和参数分析。研究表明:统一解的正确性被有关文献的Mohr-Coulomb准则解答和外接圆Drucker- Prager准则解答所验证,具有广泛的理论意义和良好的工程应用前景;中间主应力对冻结围岩位移的影响显著,应考虑中间主应力效应以充分发挥寒区隧道的承载潜能;围岩不均匀冻胀系数和体积冻胀率的增加均导致冻胀力增大,使得寒区隧道稳定性降低,应采取有效保温措施予以缓解围岩冻胀效应。该结果可为寒区隧道设计提供一定的理论指导。

       

      Abstract: The unified strength theory is used as a yield criterion to determine the plastic state of frozen surrounding rock of tunnels in cold regions. Taking comprehensive influences of the intermediate principal stress effect and transversely isotropic frost heave on the strength of frozen surrounding rock into account, a unified analytical plastic solution for the stress and displacement of tunnels in cold regions is proposed. A method is then introduced to address the plastic state of frozen surrounding rock. Furthermore, discussions, verifications and parametric studies of the proposed solution are performed. It is found herein that the validity of the unified solution is demonstrated by comparing with the results from Mohr-Coulomb criterion and circumscribed Drucker-Prager criterion available in the reference, thus it is of extensive theoretical significance and good engineering application prospect. The intermediate principal stress has a significant impact on the displacement of frozen surrounding rock, and then more rock strength potentialities are achieved. The frost-heave force increases with the increase of the anisotropic frost-heave coefficient and the volumetric frost-heave strain. It results in that the stability of tunnels in cold regions decreases, and effective insulation measures are taken to reduce the frost-heave effect of the surrounding rock. The result of this study can provide some theoretical suggestions for the design of tunnels in cold regions.

       

    /

    返回文章
    返回