考虑裂缝几何特性和T应力的类岩石材料压剪张拉断裂准则

    Compression-shear tension fracture criteria for rock-like materials considering geometric characteristics of cracks and T-stresses

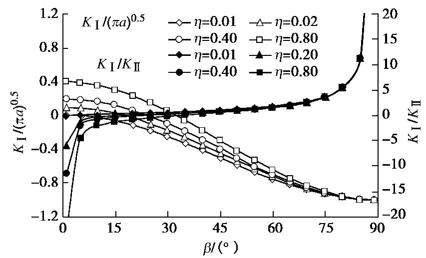
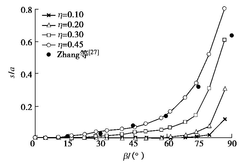
    • 摘要: 为探究类岩石材料中非闭合裂缝的压剪起裂机理,引入相对钝化系数和相对临界尺寸,建立了考虑裂缝几何特性和T应力的压剪张拉断裂准则,分析了不同因素对裂缝尖端周向应力分布规律和张拉起裂角的影响。考虑相对钝化系数后,张拉起裂角预测曲线得到明显改善;考虑T应力后,可解释由裂缝长度和材料属性引起的差异化断裂行为。根据几种典型类岩石材料的试验结果与理论曲线对比分析发现,当相对钝化系数较小时,理论预测值与试验值吻合较好,且预测角度范围较大;随相对钝化系数增大,理论预测值与试验结果误差逐渐增大,预测角度范围逐渐减小。解释了出现该现象的原因,讨论了基于线弹性断裂力学理论建立的压剪非闭合起裂准则存在的不足,并建议了本文准则的适用条件。

       

      Abstract: In order to explore the fracture mechanism of open cracks under compression-shear stress in rock-like materials, a relative passivation coefficient and a relative critical size are introduced, and a compression-shear-tension fracture criterion considering the geometric characteristics of cracks and T-stress is established. The effects of different factors on the distribution of tangential stresses and initiation angle of cracks are investigated. The predicted curves of the initiation angle of cracks are improved obviously because of considering the relative passivation coefficient, and the different fracture behaviors induced by crack length and material properties can also be explained after considering the T-stresses. In order to validate the theoretical solutions, the calculated results are compared with the test ones of several typical rock-like materials. It is found that when the relative passivation coefficient is small, the predicted values obtained by the proposed method agree well with those obtained from the tests, and the range of predicted angle is large. With the increase of the relative passivation coefficient, the error between the theoretical values and the test results increases gradually, and the range of predicted angle decreases slowly. The reason for this phenomenon is explained, the flaw of the fracture criterion based on the linear elastic fracture mechanics is discussed, and the applicable conditions of the proposed criterion is suggested.

       

    /

    返回文章
    返回