基于电机双轴加载的中小型隧道物理模拟试验系统研制与应用

    Development and application of physical simulation test system for small and medium-sized tunnels based on biaxial motor loading

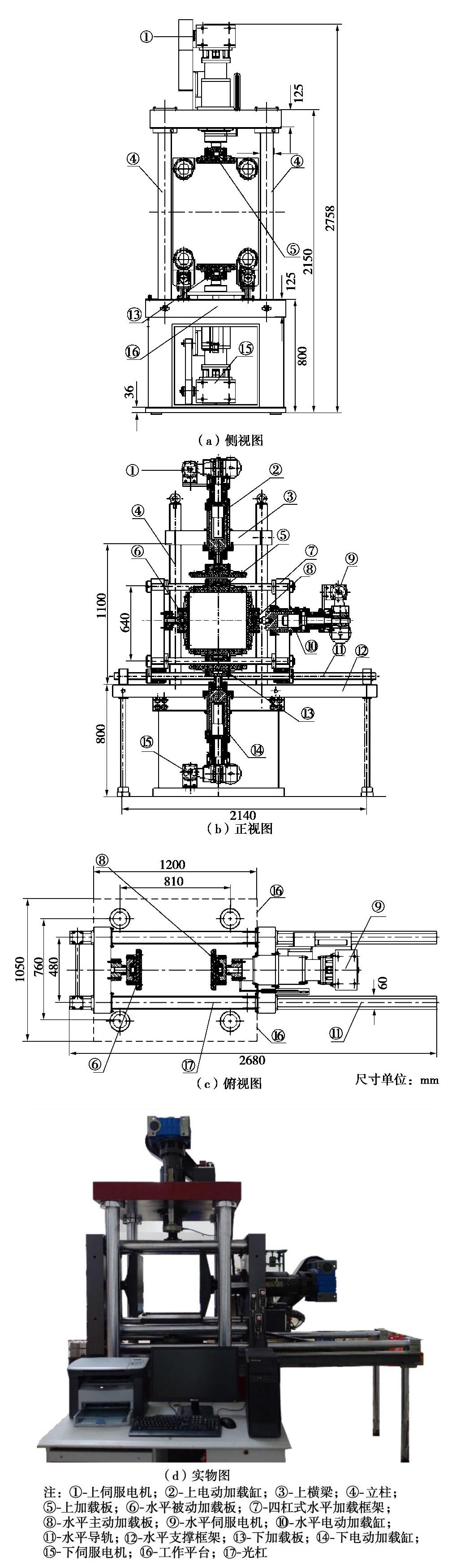
    • 摘要: 为研究深部隧道围岩变形破裂过程及演化机理问题,并针对当前隧道工程试验系统中存在的关键问题,研制了一套结构紧凑、模型尺寸适中、稳压效果良好的双轴电机加载物理模拟试验系统。该系统由框架式反力架、伺服电机加载及控制系统、自行研制的数字照相变形量测系统和开挖辅助装置等部分组成,不仅可以用于中小型隧道物理模拟试验,还可完成普通相似材料的标准或非标准试件的单轴与双轴压缩试验研究等。最后给出类岩石材料单、双轴压缩试验及复合地层相似材料围岩变形破裂试验的应用实例,部分试验结果与类似研究成果基本一致,表明本套试验系统能够满足隧道围岩稳定性等问题研究的需要,同时,试验结果可为相关问题研究提供参考。

       

      Abstract: To study the failure process of deformation and evolution mechanism of the surrounding rock in deep tunnels, as well as to solve the key problems of the current tunneling test system, a new motor biaxial loading system with compact structure, moderate size and stabilized loading is developed for simulating physical tunnels. The system consists mainly of a frame-type reaction frame, a servo-controlled motor testing system, a self-developed digital photographic deformation measurement system and auxiliary devices for excavation. It can be used for the physical simulation tests on small and medium-sized tunnels and the uniaxial and biaxial compression tests on standard or non-standard specimens made of the common similar materials. Finally, the uniaxial and biaxial compression tests on the rock-like specimens and the simulation experiments to study the deformation evolution of the surrounding rock in mixed strata are performed to verify the feasibility of the test system. Partial experimental results are basically consistent with those of the similar studies, which indicates that the poposed test system meets the needs of studying the stability of the surrounding rock and other issues. Furthermore, the results may also provide reference for the related researches.

       

    /

    返回文章
    返回