黄土的动扭剪震陷特性试验研究

    Experimental study on seismic subsidence characteristics of structural loess under cyclic torsional shear

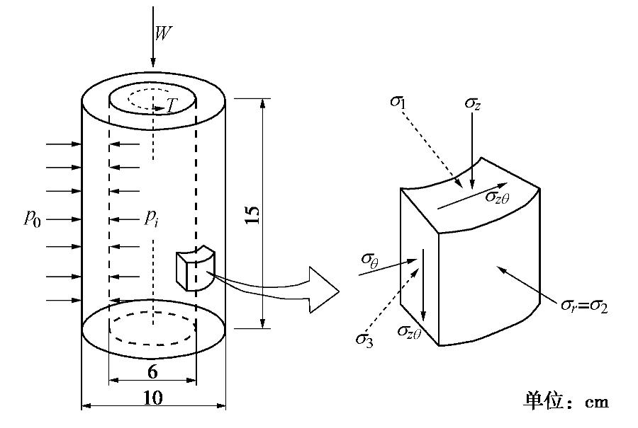
    • 摘要: 原状结构性黄土具有显著的动力易损性。地震作用下黄土的骨架结构遭到破坏,使得土骨架结构的颗粒重新排列而变得致密,土的架空孔隙结构塌陷,孔隙体积减小,宏观上表现为黄土产生震陷变形。通过西安原状黄土在不同含水率、不同固结围压条件下的动扭剪试验,表明不同含水率筒状黄土试样的轴向变形非线性累积增长,径向和环向变形近似等于零。测试分析了黄土在动扭剪过程中孔隙结构塌陷的累积体应变表征震陷性的震陷系数,以及动剪应力幅值、振次、含水率及固结围压对黄土震陷系数的影响。揭示黄土的震陷系数随动剪应力幅值、循环振次、固结围压和含水率的增大而增加,建立了黄土震陷系数与动剪应力、振次、固结围压和含水率之间的关系式,提出了黄土震陷变形预测的一种途径。

       

      Abstract: The undisturbed loess has significant structural and dynamic vulnerability. Under the earthquake, the dynamic shearing action destroys the original structure of loess. The pore volume of loess is reduced and the soil particles are rearranged and compacted, and the macroscopic representation is the occurrence of loess response, which is called seismic deformation of loess. In this study, the dynamic torsional shear tests on Xi'an undisturbed loess are conducted under different water contents and confining pressures. The axial cumulative deformation of undisturbed loess under different experimental conditions is analyzed. The influence of dynamic shear stress amplitude, vibration frequency, water content and consolidation confining pressure on the seismic subsidence deformation of loess is discussed. In addition, the empirical formula for calculating the seismic subsidence deformation of loess is established on the basis of influencing factors. The results show that the seismic subsidence deformation of loess increases gradually with the action of dynamic shear stress, and the growth rate tends to decline. The water content and consolidation confining pressure are the important factors on the seismic subsidence deformation characteristics of undisturbed loess. Under the same dynamic shear stress, the seismic subsidence deformation increases with the increase of water content and decreases with the increase of consolidated confining pressure. And the empirical formula for the seismic subsidence deformation of loess can be used to calculate the seismic deformation of loess foundation.

       

    /

    返回文章
    返回