砂土中大直径单桩的长期水平循环加载累积变形

    Accumulative displacement of long-term cyclic laterally loaded monopiles with large diameter sand

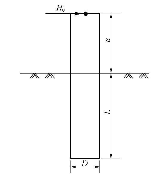
    • 摘要: 海上风电在风载、波浪荷载等长期水平循环荷载作用下的累积变形问题备受重视,因其过大会导致风机无法正常工作。考虑了桩周砂土的循环加载特性对海上风电大直径单桩基础的水平循环响应加以研究。首先采用R-O加载曲线和修正Masing准则构建砂土的加卸载应力应变曲线,基于砂土轴向累积应变显式公式推导了砂土加卸载割线刚度演化模型。其次在长期水平循环受荷桩的有限元数值模拟中对该演化模型加以实现,通过与文献的离心模型试验结果进行对比分析,验证了砂土加卸载刚度演化模型用于水平循环受荷单桩响应的合理性。进一步开展了单桩不同埋深的参数分析,探讨了埋深条件对桩顶累积转角发展的影响。研究表明,基于砂土加卸载割线刚度演化模型的有限元分析能够合理模拟砂土中水平循环加载条件下单桩桩顶累积转角的长期演化规律,为分析海上风电的长期循环响应提供了理论基础。

       

      Abstract: The accumulative displacement of offshore wind power under long-term cyclic lateral loads from wind and wave loads attracts a lot of attention, for it may lead to the malfunction of a wind turbine. Considering the cyclic loading characteristics of sandy soil around piles, the lateral cyclic response of monopile for offshore wind power is investigated. The R-O loading curve and modified Masing rule are used to construct loading and unloading stress-strain curves of sand. Based on the explicit equation for cyclic accumulative axial strain of sand, a cyclic evolution model for secant stiffness of sand is derived, and it is applied in the FE analysis. By comparing with the published centrifuge test results of a laterally loaded monopile in sand, the rationality of the evolution model is verified. A parametric analysis considering different embedment lengths of the pile is also undertaken. It is believed that the FE analysis with the evolution model for secant stiffness of sand can rationally simulate the development of the accumulative rotation of a horizontal cyclic loaded monopile, which provides theoretical support for the design of the cyclic response of wind turbines.

       

    /

    返回文章
    返回