应用于基坑围护结构变形计算的非线性土体弹簧模型及参数研究

    Nonlinear soil spring model and parameters for calculating deformation of enclosure structure of foundation pits

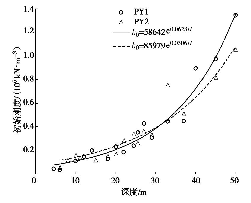
    • 摘要: 目前基坑计算时,被动区土体采用线弹性弹簧模拟有较大不合理之处。为使基坑变形计算更接近实际监测结果,在计算时被动区应采用反映土体非线性变形特征的弹簧。建立了双曲函数土体弹簧模型,通过现场监测数据反分析了30多个基坑的被动区土体非线性弹簧参数。针对一个典型工程,通过原位测试方法获取了土体的非线性弹簧参数。依据反分析结果,讨论了通过反分析获得参数与通过原位测试获得参数的相关关系。成果对引入非线性弹簧改进基坑算法有借鉴意义。

       

      Abstract: At present, when calculating deformation of foundation pits, it is unreasonable to use linear elastic spring to simulate the soil in the passive area. In order to make the calculation of foundation pit deformation closer to the actual monitoring results, the spring reflecting the non-linear deformation characteristics of soil should be used to simulate the soil in the passive zone during the calculation. In this study, a hyperbolic function soil spring model is established, and the parameters of non-linear spring in the passive zone of more than 30 foundation pits are analyzed based on the monitoring data. For a typical project, the parameters of the non-linear spring are obtained by the in-situ testing method. Based on the back analysis results, the correlation between the parameters obtained by back analysis and those obtained by in-situ testing is discussed. The results of this study can be used for reference when introducing non-linear elastic spring to improve the algorithm of foundation pits.

       

    /

    返回文章
    返回