土体等向固结曲线的Logistic模型

    Logistic model for isotropic consolidation curve of soils

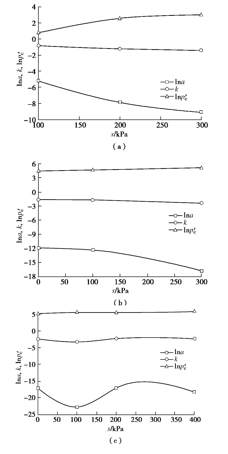
    • 摘要: 基于非饱和土等向压缩试验和Logistic函数,提出了一种土体等向固结曲线的模型。首先,对目前土体体变方程中常用的单对数和双对数线性模型的不足进行了分析;然后,借助Logistic函数,建立了各向等压条件下的土体孔隙比和压力模型,并给出了模型中各参数的确定方法以及前期固结压力的解析表达;最后,通过与已有试验数据进行对比,验证了该模型的有效性,分析了各参数随非饱和土中吸力的变化规律。

       

      Abstract: Based on the isotropic compression tests on unsaturated soils and the Logistic function, a model for isotropic consolidation curve of soils is proposed. Firstly, the shortcomings of the single-logarithmic and double-logarithmic linear models commonly used in the volumetric behavior are analyzed. Then, with the Logistic function, the mathematical model between void ratio and pressure under isotropic compression conditions is established. The determination method for every parameter in the model and the analytical expression of the pre-consolidation pressure are given. Finally, the validity of the model is verified by comparison with the existing experimental data, and the influence of suction on each model parameter is analyzed.

       

    /

    返回文章
    返回