堆石料颗粒破碎特性及Wan-Guo硬化法则的修正

    Particle breakage characteristics of rockfill materials and correction of Wan-Guo hardening rule

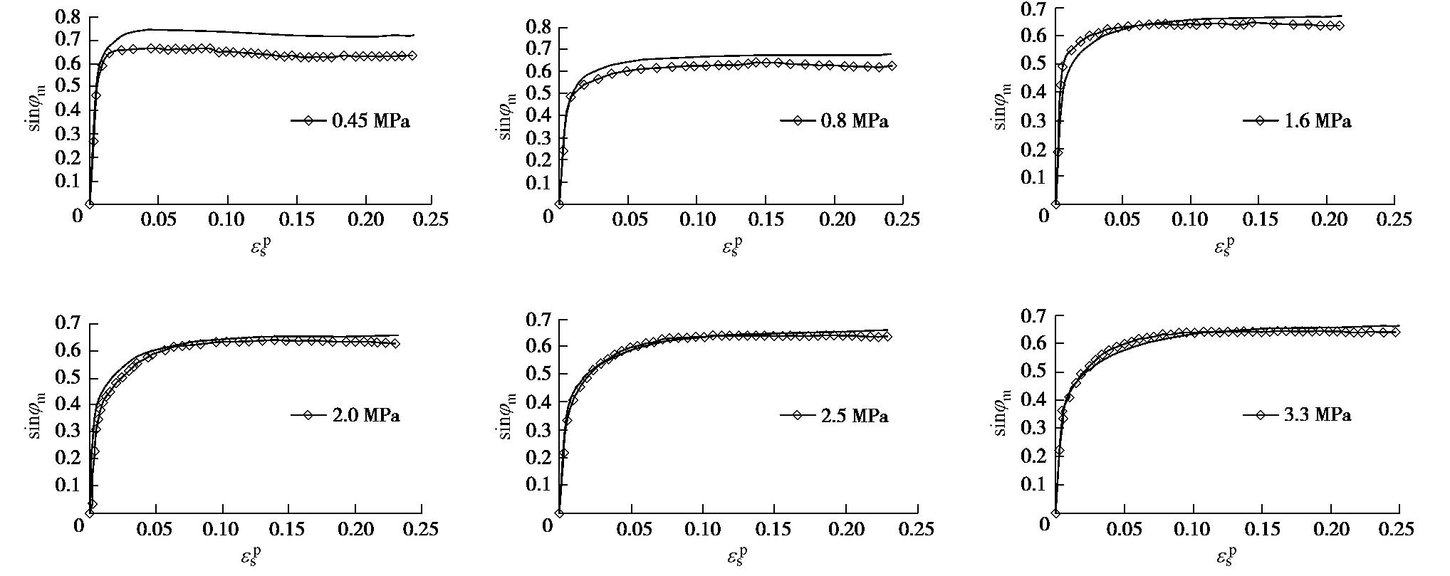
    • 摘要: 高应力下超高堆石坝坝料的颗粒破碎特性是当前研究的热点问题。取已建成的世界最高面板堆石坝——水布垭坝的筑坝堆石料为试验料,进行了轴向应变达25%的三轴固结排水试验,得到了31组试验的高质量试验数据。在此基础上,统计分析得出临界状态剪应力q与平均主应力p呈幂函数关系、颗粒破碎率Br与围压σ3呈幂函数关系、临界状态应力比Mf与围压σ3呈对数函数关系。试验揭示了在高–超高围压下堆石料发生了较显著颗粒破碎,堆石料粒径变小、颗粒级配改变导致其剪应力–轴向应变试验曲线下弯。因此高围压下堆石料的临界状态判断标准应为“体应变不变”,而不再是“剪应力不变”。最后引入破碎因子项,修正了Rowe剪胀方程的Wan-Guo硬化法则。

       

      Abstract: The particle breakage problem of super-high rockfill dams is a hot issue in the current researches. For the rockfill materials of the world's highest concrete faced rockfill dam, Shuibuya Dam, the consolidated drained tri-axial tests with the maximum deformation of 25% are carried out, and 31 high-quality test curves are obtained.  On this basis, the power function relationship between the critical shear stress and the mean stress is yielded, so is the relationship between the particle breakage ratio and the confining pressure. The logarithmic function relationship between the critical state stress ratio and the confining pressure is obtained. The test data reveal that obvious particle breakage of the rockfill materials happens under high or super high pressures. The particle size of many rockfill materials becomes smaller and its grading curve changes, which induces the shear stress and axial strain test curve to bend down. Therefore, the criterion for the critical state of rockfill materials under high confining pressures must be "strain unchanged volumetric" rather than "shear stress unchanged". Finally, the Wan-Guo hardening rule of Rowe’s stress dilatancy equation is modified by use of the breakage factor term.

       

    /

    返回文章
    返回