软黏土中劲性复合桩水平承载特性p-y曲线研究

    p-y curves for lateral bearing behavior of strength composite piles in soft clay

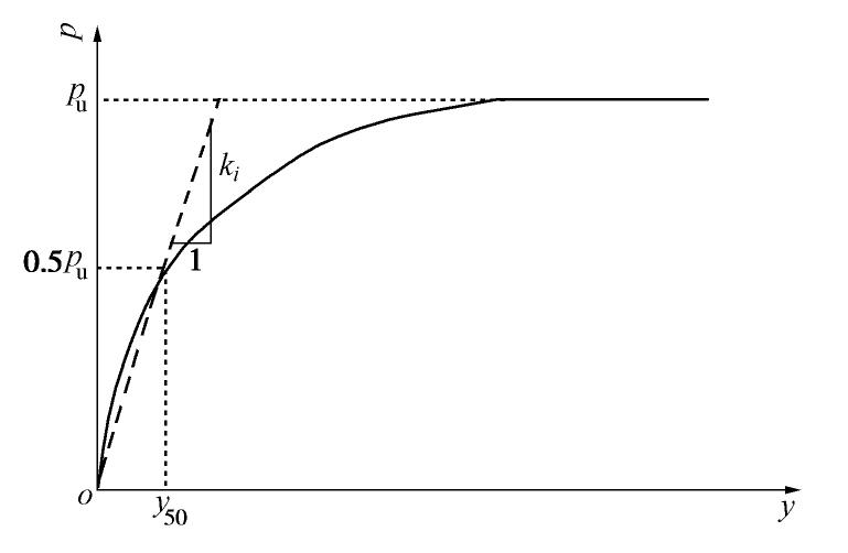
    • 摘要: 劲性复合桩(SC桩)是一种将高强度混凝土桩与水泥土桩相结合的新型桩基。为研究软黏土中SC桩水平承载力理论计算方法,将水泥土视为硬黏土,基于现有软黏土和硬黏土中桩基的p-y曲线形式,考虑水平荷载作用下桩周水泥土和软黏土的土抗力分担比例,推导了p-y曲线中两个重要参数puy50的修正因子,进而建立了软黏土中SC桩水平承载特性p-y曲线计算方法。通过与3个现场试验的实测结果的对比分析,验证所建立的p-y曲线法的准确性与可靠性,继而开展SC桩水平受荷性能影响因素分析。结果表明:所建立的理论计算方法可以有效预测SC桩的水平承载特性,且当桩身变形较大时应考虑混凝土芯桩的非线性影响。水泥土桩桩径(D)对SC桩水平承载性能影响显著,当水泥土桩与混凝土芯桩的桩径比(D/d)从1.0增至3.0时,120 kN水平荷载下的桩头位移从25.8 mm减至5.1 mm,且桩身最大弯矩值减小51.0%;桩身水平承载性能受水泥土桩桩长(L)的影响较大,但当长径比(L/d)超过10后,桩身内力位移趋于稳定值;适当地增加水泥土桩强度与混凝土芯桩弹性模量也可提高SC桩的水平承载性能。

       

      Abstract: The strength composite (SC) pile is a novel type of pile technology which combines high-strength concrete piles and deep cement-mxing (DCM) columns. To attain a theoretical approach for the lateral bearing capacity of SC piles in soft clay, the cement-improved soil is assumed to be the stiff clay. Then, considering the proportion of lateral resistance provided by the cement-improved soil, as well as the soft clay surrounding the pile, the modification factors of pu and y50 are deduced based on the typical p-y curves for both soft and stiff clays. Subsequently, a modified p-y curve model is initially established to predict the lateral response of SC piles in soft clay. The assessments using the measured response of the SC piles from three field tests are then performed to verify the accuracy and reliability of the proposed p-y curve approach. Furthermore, a parametric study is conducted to clarify the influences of the related parameters on the lateral response of the SC piles. The results illustrate that the proposed analytical approach may effectively predict the lateral response of the SC piles. Evidently, when the lateral deformation of the piles is relatively large, the nonlinear behavior of the concrete-cored piles should be considered. The diameter of the DCM columns (D) has a significant effect on the lateral behavior of the SC piles. Specifically, when the column-pile diameter ratio (D/d) varies from 1.0 to 3.0, the deflections at the pile-head decreases from 25.8 to 5.1 mm at a lateral load level of 120 kN, and the peak bending moment decreases by 51.0%. The lateral performance of the SC piles is greatly affected by the length of the DCM columns (L), however, when the length-diameter ratio (L/d) exceeds 10, the internal force and displacement of the piles stabilize with negligible variation. Additionally, the lateral bearing behavior of the SC piles may also be improved by appropriately increasing the strength of the cement-mixing columns as well as the elastic modulus of the concrete-cored piles.

       

    /

    返回文章
    返回