悬浮长芯劲性搅拌桩复合地基固结解析解

    Analytical solutions for consolidation of a composite ground with floating stiffened deep cement mixing columns with long core piles

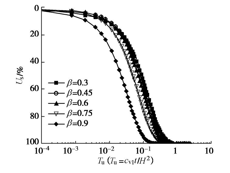
    • 摘要: 推导出瞬时加荷情况下悬浮长芯劲性搅拌桩复合地基的固结方程和相应的定解条件,利用三层地基一维固结理论,建立了相应的固结解析解,包括桩间土和下卧层土中超静孔隙水压力解答和复合地基整体平均固结度解答。通过固结速率解析解与有限元数值解的比较,证明了解析解的合理性。利用解析解进行复合地基固结速率影响因素分析,研究了悬浮长芯劲性搅拌桩复合地基的固结性状。结果表明:悬浮长芯劲性搅拌桩复合地基的固结速率主要受桩的贯入比和下卧层刚度的影响。复合地基的固结速率随桩的贯入比和下卧层土压缩模量的增加而增大。搅拌桩壳长度、厚度和刚度以及芯桩截面含心率的变化对复合地基固结速率没有影响。增加芯桩的压缩模量只会使固结前期复合地基的固结速率略微减小,不会影响固结后期复合地基的固结速率。

       

      Abstract: The consolidation equations and the corresponding solution conditions of the composite ground with floating stiffened deep cement mixing (SDCM) columns with long core piles are derived under an instant loading. On the basis of one-dimensional consolidation theory of a third-layer soil ground, the corresponding analytical consolidation solutions are developed, including the average excess pore water pressures within the surrounding soil and underlying soil and the overall average degree of consolidation of the composite ground. The correctness and accuracy of the proposed analytical solutions are verified by comparison of the consolidation rates by the proposed analytical solution and the FEM. Some main factors are analyzed to investigate the consolidation behavior of this type of composite ground using the proposed analytical solution. The results show that the consolidation rate of the composite ground depends mainly on the penetration ratio of the SDCM columns with long core piles and the stiffness of the underlying soil. It increases with increasing penetration ratio of the pile and the constrained modulus of the underlying soil. The variations in the length, thickness and stiffness of the deep cement mixing (DCM) column sockets as well as the area core ratio of the concrete core piles have little effect on the consolidation rate of the composite ground. An increase in the modulus of the core pile decreases slightly the consolidation rate of the composite ground at the early stage of consolidation process, and it affects insignificantly the consolidation rate at the later stage of consolidation.

       

    /

    返回文章
    返回